Apple has filed a patent (number 20120154268) with the U.S. Patent & Trademark Office for remote control systems that can distinguish stray light sources. It apparently involves the current Apple TV and perhaps the rumored Apple-branded HDTV (“iTV”).

Remote control systems that can distinguish predetermined light sources from stray light sources, e.g., environmental light sources and/or reflections are provided. The predetermined light sources can be disposed in asymmetric substantially linear or two-dimensional patterns. The predetermined light sources also can be configured to exhibit signature characteristics. The predetermined light sources also can output light at different signature wavelengths. The predetermined light sources also can emit light polarized in one or more predetermined polarization axes. Remote control systems of the present invention also can include methods for adjusting an allocation of predetermined light sources and/or the technique used to distinguish the predetermined light sources from the stray light sources.

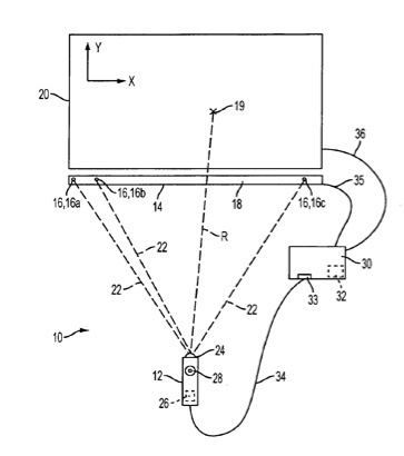
Here’s Apple’s background and summary of the invention: “some remote control systems use infrared (IR) emitters to determine the position and/or movement of a remote control. For example, if IR emitters are mounted proximate to a television, the remote control may be able to detect its own motion by measuring the relative motion of the IR emitters with respect to the remote control.

“Such systems, however, may not be able to distinguish desired or predetermined IR light sources from undesirable environmental IR sources, e.g., the sun or a light bulb. Because those systems may mistakenly identify unintended environmental IR sources as intended IR emitters, the systems may incorrectly determine the position and/or movement of the remote control.

“Such systems also may experience another common problem in that the systems may not be able to distinguish IR emitters from reflections of the IR emitters, e.g., from the surface of a table or a window. For example, when IR emitters are disposed in a pattern that is symmetrical about a horizontal axis, the remote control system may mistake reflections of the IR emitters from a table surface for the actual IR emitters. Or, when IR emitters are disposed in a pattern that is symmetrical about a vertical axis, the remote control system may mistake reflections of the IR emitters from a window for the actual IR emitters. Again, such mistakes may result in incorrect determinations of the position and/or movement of the remote control.

“The present invention relates to remote control systems that can distinguish predetermined light sources from stray or unintended light sources, such as environmental light sources and/or reflections.

“In one embodiment of the present invention, the predetermined light sources can be disposed in asymmetric substantially linear or two-dimensional patterns. Here, a photodetector can detect light output by the predetermined light sources and stray light sources, and transmit data representative of the detected light to one or more controllers. The controllers can identify a derivative pattern of light sources from the detected light indicative of the asymmetric pattern in which the predetermined light sources are disposed.

“In another embodiment of the present invention, the predetermined light sources can output waveforms modulated in accordance with signature modulation characteristics. By identifying light sources that exhibit the signature modulation characteristics, a controller can distinguish the predetermined modulated light sources from those that do not modulate in that same way.

“In another embodiment of the present invention, each predetermined light source can output light at one or more different signature wavelengths. For example, a photodetector module of the present invention can detect the signature wavelengths using multiple photodetectors, each of which can detect one of the signature wavelengths. Alternatively, the photodetector module can include an interleaved photodetector having an array of interleaved pixels. Different portions of the interleaved pixels can detect one of the signature wavelengths.

“In yet another embodiment of the present invention, a display can have a matrix of pixels having one or more signature pixels. The signature pixel(s) can exhibit one or more signature characteristics that distinguish the signature pixel(s) from the other pixels in the matrix and from other light sources that do not exhibit the signature characteristic(s). For example, the signature pixel(s) can exhibit one or more signature modulation characteristics, wavelengths, polarization axes, intensities, shapes, etc. The present invention also can include methods for adjusting the allocation of signature pixels in the display based on data indicative of conditions under which a photodetector detects the signature pixels.

“In another embodiment of the present invention, a light transmitter can be configured to transmit light that is polarized. For example, the light can have one or more predetermined polarization axes. Based on the measured intensity of light received by one or more complementary photodetectors, a controller can distinguish the polarized light from unpolarized stray sources.

“The present invention also can include methods for adjusting the technique used for distinguishing predetermined light sources from stray light sources. The adjustment can be based on data indicative of one or more conditions under which a photodetector is detecting light emitted from the predetermined light sources. Combinations of the embodiments described herein also are within the scope of the present invention.”

Brett G. Alten is the inventor.