Apple wants to make it easier to share and store data between a handheld device and Macs, per a patent (number 8090767) at the U.S. Patent & Trademark Office.

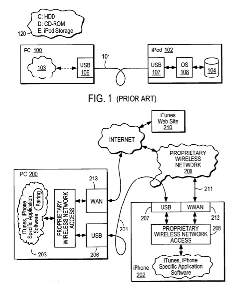
A method is described that involves detecting the presence of a pairing partner. Prior to establishing a paired relationship with the pairing partner, a user is prompted to verify himself/herself. In response to the user properly verifying himself/herself, the paring partner is paired with. The pairing includes invoking a remote storage protocol that contemplates a network between the partners to establish on a first of the partners access to non volatile storage resources for general use.

The non volatile storage resources are located on a second of the partners. The second of the partners is a handheld device that provides wireless cell phone service, wireless Internet service and music playback service. The inventors are Mitch Adler and Jonathan Jay Andrews.

Here’s part of Apple’s background on the invention: “The continued increase in semiconductor processing performance along with the continued decline in the cost of semiconductor devices has resulted in the emergence of ‘high tech’ consumer products such as handheld devices capable of providing, among other things, cell phone communications, Internet communications and entertainment applications.

“The iPod and iPhone products offered by Apple, Inc. of Cupertino, Calif. are a good example. The iPod is a handheld entertainment device that couples non-volatile storage and processing resources to store and playback entertainment files (e.g., music files). The iPhone, like the iPod, includes the ability to store and playback entertainment files — but also — possesses additional capabilities such as cell phone and Internet communications.

— Dennis Sellers