An Apple patent (number 20110273464) for a framework for graphics animation and compositing operations has appeared at the US Patent & Trademark Office. Apparently, Apple has plans for further animation in the Mac OS X user interface.

Per the patent, a framework for performing graphics animation and compositing operations has a layer tree for interfacing with the application and a render tree for interfacing with a render engine. Layers in the layer tree can be content, windows, views, video, images, text, media, or any other type of object for a user interface of an application. The application commits change to the state of the layers of the layer tree.

The application doesn’t need to include explicit code for animating the changes to the layers. Instead, an animation is determined for animating the change in state. In determining the animation, the framework can define a set of predetermined animations based on motion, visibility, and transition. The determined animation is explicitly applied to the affected layers in the render tree.

A render engine renders from the render tree into a frame buffer for display on the computer system. Those portions of the render tree that have changed relative to prior versions can be tracked to improve resource management. The inventors are Ralph Brunner, John Harper and Peter N. Graffagnino.

Here’s Apple’s background and summary of the invention: “Mac OS X provides prior art graphics and imaging frameworks for developers to create ‘views’ for graphical user interfaces (GUIs) of a computer application. For example, Cocoa is an object-oriented application environment that developers can use to develop Mac OS X native applications. Apple’s Cocoa Application Framework (also referred to as Application Kit or AppKit) is one of the core Cocoa frameworks. Application Kit provides functionality and associated Application Programming Interfaces (APIs) for applications, including objects for graphical user interfaces, event-handling mechanisms, application services, and drawing and image composition facilities.

“A framework for performing graphics animation and compositing operations is disclosed. The framework is used as part of rendering process to render a user interface of an application for display on a computer system. The framework is divided into two processes. A layer tree process interfaces with the application, and a render tree process interfaces with a render engine. The layer tree process has a first data structure or layer tree that contains object or layers associated with the user interface of the application.

“The layers can be content, windows, views, video, images, text, media, or any other type of object for a user interface of an application. The render tree process is separate from the layer tree process and does not interface with the application. The render tree process has a second data structure or render tree that contains object or layers associated with the layer tree. The render engine renders from the render tree.

“When the application changes or is manipulated to change a layer of the user interface (e.g., a user moves a layer from a first position to a second position in a window of the user interface), the layer tree process receives the changes from the application and implements the changes directly to the layer tree. The changes from the application change the state of one or more layers in the layer tree. For example, if a layer has been moved in the application, then attributes describing the position of the affected layer in the layer tree will change.

“From the change in state of the affected layer in the layer tree, an animation and compositing process independent from the application determines what animation to use to animate the change of the affected layer. The animation and compositing process then implements the determined animation on the affected layer of the render tree. Then, the render engine renders the layers in the render tree into a frame buffer of the computer system.

” In one technique to improve resource usage, the framework can focus on dirty regions of the render tree when rendering. A ‘dirty region’ is one or more layers or objects of the render tree that have changed relative to their immediate prior versions. For example, the dirty regions can be indicated by change objects added to the associated layers of the render tree that have been changed relative to their immediately prior version. The change objects are updated at each transaction of rendering the render tree. During rendering, the render engine renders only those layers that have changed relative to their immediately prior version.

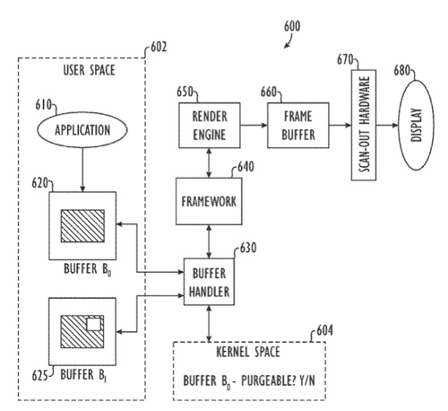
“In another technique to improve resource usage, user interface information from an application is stored to a first buffer. A buffer handler receives a first update region of the user interface information from the application. In response, the buffer handler stores the user interface information from the first buffer into a second buffer except for the first update region. The render engine renders from the second buffer for display on the computer system, and the buffer handler marks the first buffer as purgeable.

“During subsequent processing, the buffer handler determines whether the first buffer has been reclaimed in response to receiving a second update region from the application. If the first buffer has not been reclaimed, buffer handler can use the first buffer again.”

— Dennis Sellers