Apple is planning on making it even easier to back up data on your iOS devices. A company patent number (20110016089) for restoring data to a mobile device has appeared at the US Patent & Trademark Office.

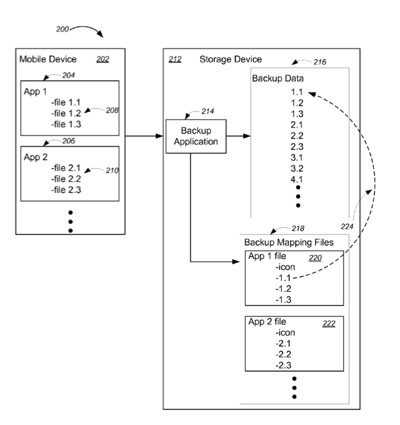
Methods, systems, and apparatus, including computer programs encoded on a computer storage medium, for backing up and restoring data to a mobile device. In general, one aspect of the subject matter described in this specification can be embodied in methods that include the actions of receiving data from a mobile device to be included in a backup, the data including data associated with one or more mobile device applications; storing the data in a backup archive; generating a backup mapping file for each of the mobile device applications, each backup mapping file identifying each file in the backup associated with the respective application; and using the backup mapping files to restore the corresponding applications to the mobile device. The inventors are Gordie Freeman, Jacob Farkas and Toby Charles Wood Paterson.

Here’s Apple’s background and summary of the invention: “Mobile devices can be used to perform a number of different functions. For example, mobile devices can be used for communication (e.g., telephone, e-mail, text), storing or listening to music, as well as for running various applications (e.g., games, productivity tools).

“Data can be lost or corrupted on a mobile device. For example, a user may need to perform a reset on the mobile device that erases some data. A user can also manually delete data from the mobile device, for example, by deleting particular installed applications or files from the mobile device.

“Some conventional mobile devices allow a user to back up data stored on the mobile device, e.g., to one or more computers or storage devices. This data can be restored to the mobile device if the data on the mobile device becomes lost or corrupted. However, such a restoration operation is typically all or nothing such that the entire mobile device has to be restored with the backup data. This specification describes technologies relating to backing up and restoring data to a mobile device.

“In general, one aspect of the subject matter described in this specification can be embodied in methods that include the actions of receiving data from a mobile device to be included in a backup, the data including data associated with one or more mobile device applications; storing the data in a backup archive; generating a backup mapping file for each of the mobile device applications, each backup mapping file identifying each file in the backup associated with the respective application; and using the backup mapping files to restore the corresponding applications to the mobile device. Other embodiments of this aspect include corresponding systems, apparatus, and computer program products.

“These and other embodiments can optionally include one or more of the following features. The method further includes presenting a backup restoration interface, the backup restoration interface including a selectable representation of each application having a backup mapping file. Each backup mapping file further includes a graphical file used to represent the application in the backup restoration interface. The method further includes receiving an input to restore application data to a mobile device; presenting a backup restoration interface, the backup restoration interface including a selectable representation of each application having a backup mapping file; receiving a user selection of an application to restore; and restoring the selected application to the mobile device.

“Restoring the selected application includes identifying one or more files associated with the selected application in the backup mapping file; identifying files corresponding to the identified one or more files in the backup archive; and restoring the identified files in the backup archive to the mobile device. The method further includes generating one or more incremental backups of the mobile device, each incremental backup including data changed from a previous backup.

“The method further includes presenting a backup restoration interface, the backup restoration interface including multiple user interface representations of previous backups of the mobile device, each backup corresponding to a previous state of the mobile device, each user interface representation presenting one or more applications of the mobile device corresponding to the previous state and available for restoration. The method further includes receiving a selection of a particular user interface representation; receiving a selection of a particular application in the selected user interface representation; and restoring the selected application.

“In general, one aspect of the subject matter described in this specification can be embodied in methods that include the actions of receiving data from a mobile device to be included in a backup, the data including data associated with one or more files on a mobile device; storing the data in a backup archive; generating a backup mapping file for one or more associated files of the mobile device, each backup mapping file identifying each file in the backup associated with the respective one or more associated files; and using the backup mapping files to restore the corresponding files to the mobile device. Other embodiments of this aspect include corresponding systems, apparatus, and computer program products.

“These and other embodiments can optionally include one or more of the following features. The method further includes receiving an input to restore file data to a mobile device; presenting a backup restoration interface, the backup restoration interface including a selectable representation of the one or more files having a backup mapping file; receiving a user selection of one or more files to restore; and restoring the selected files to the mobile device.

“In general, one aspect of the subject matter described in this specification can be embodied in methods that include the actions of receiving an input to restore application data to a mobile device; generating a restoration interface, the restoration interface including a selectable representation of each application available for restoration according to a corresponding backup mapping file, the backup mapping file associating files in the backup archive for the application; receiving a user selection of a particular application to restore; and restoring the application to the mobile device including using the backup mapping file for the selected application to identify files in the backup archive to restore.

“Particular embodiments of the subject matter described in this specification can be implemented so as to realize one or more of the following advantages. Users can restore particular content backed up on a mobile device without restoring all data. Users can visually locate particular content, e.g., applications for restoration using a restoration user interface. A backup user interface can allow users to navigate through multiple backup states to identify a particular version of data to restore.”

— Dennis Sellers
dsellers@applecentral.com