Three Apple patents have popped up at the US Patent & Trademark Office regarding the upcoming Mac App Store.

Craig Federighi, vice president of engineering for OS X, demoed Lion at the Back to the Mac event in October. The Mac App Store brings the Apple App Store experience to Mac OS X, making discovering, installing and updating Mac apps easier than ever, he said. Like on the iPad, you purchase apps using your iTunes account and they download and install in just one step. The Mac App Store will be available for Mac OS X 10.6, and will be built into next year’s Mac OS X Lion.

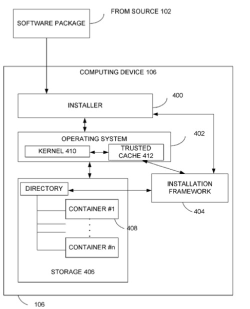
Patent number 20100312966 involves secure software installation. Embodiments of the present disclosure provide methods and systems for securely installing software on a computing device, such as a mobile device. In one embodiment, the device executes an installer that securely installs the software. In order to perform installations securely, the installer configures one or more secure containers for the software and installs the software exclusively in these containers.

In some embodiments, the installer randomly determines the identifiers for the containers. These identifiers remain unknown to the software to be installed. Instead, an installation framework maintains the correspondence between an application and its container. Other methods and apparatuses are also described.

Patent number 20100313196 is for managing securely installed applications. Embodiments of the present disclosure provide methods and systems for managing securely installed applications. After installation, an installation framework performs a bind process to correlate the randomly assigned identifier with the unique identifier of the application. The installation framework also manages the execution of the application. When an application is launched, the application framework performs a search for that application’s randomly assigned identifier and locates the application’s container. The application is then allowed to execute within its container. During execution, the software application may also be restricted in various ways by the installation framework to its dynamic containers. The installer may also work with a trusted operating system component, such as the kernel, to help enforce the container restrictions. In addition, if desired, the use of random identifiers for containers may be used in conjunction with other security mechanisms, such as the use of code signing.

The inventors on these two patents are Dallas De Atley and Simon Cooper.

Patent number 20100312817 involves installing applications based on a seed application from a separate device. Disclosed are systems, computer-implemented methods, and tangible computer-readable storage media for synchronizing applications between devices. The method displays, on a sharing device, a list of one or more applications which are available to share with other devices, and receives a selection, at the sharing device, of an application to share with a receiving device from the list of applications.

The method then determines by the sharing device, sharing preferences of the selected application, creates an application package at the sharing device, based on the sharing preferences, and establishes a network connection from the sharing device to the receiving device. The system transmits the application package from the sharing device to the receiving device via the network connection. Edward D. Steakley is the inventor.

— Dennis Sellers