An Apple patent (number 20100289390) for a reinforced device housing has appeared at the US Patent & Trademark Office — as first reported by “AppleInsider” (http://www.appleinsider.com) that could result in even lighter, but even tougher, iOS devices.

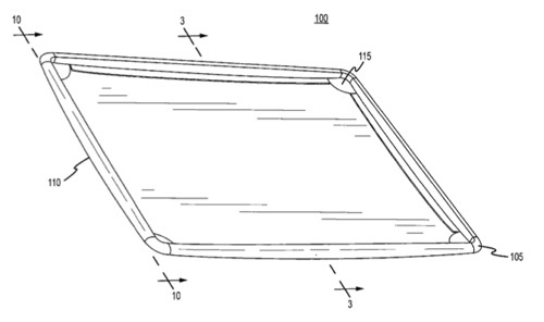
The patent — invented by Kevin M. Kenney — is for a housing for an electronic device or other object formed from a fiber-in-matrix material. A layered fiber-in-matrix type material, such as CFRP, may be used. A spine made from CFRP may support, and be attached to, a CFRP skin. The CFRP spine may be a unitary frame that imparts strength and rigidity to the overall housing and also form at least some of the corners of the frame. In some embodiments, the spine may be rectangular.

The skin may be formed from multiple layers of CFRP type material stacked atop each other. Each layer may be cut at one or more corners to expose at least a portion of the layer beneath. The skin may thus have an overall cross shape, such that each arm of the cross may be wrapped around a different side of the aforementioned rectangular spine.

Here’s Apple’s background and summary of the invention: “Many electronic devices, including portable devices, have housings made of plastic. Plastic enclosures tend to be relative inexpensive and simple to manufacture but may be brittle and crack under relatively low stress. Other electronic devices have metal housings. Metal casings are durable but may be heavier and/or more expensive to manufacture than an equivalently-sized plastic casing.

“Some electronic devices use a reinforced plastic housing. For example, certain devices may have a housing formed from carbon fiber reinforced plastic (CFRP). A standard CFRP may be made of multiple layers, each of which typically has carbon fibers aligned in a plastic matrix such that the fibers all extend in substantially the same direction within that layer. The carbon fibers impart structural strength and resistance to bending and breaking against force applied transversely to the length of the fibers. CFRP materials generally have a high strength to weight ratio and weight to stiffness ratio.

“However, CFRP may crack or break if bent or rolled such that the carbon fibers bend along their lengthwise axis. More commonly, the fibers in each layer of CFRP generally resist conforming to abrupt angles (such as those formed at a corner having right angles) assuming and/or maintaining shapes with compound curves, and bridging It is more accurate to say the fibers will resist conforming to sharp corners and shapes with compound curves, producing bridging between adjacent layers, voids, and other cosmetic and structural defects. Thus, CFRP may not be a material of choice for many applications, especially those having fairly sharp corners such as electronics housings.

“Generally, embodiments described herein take the form of a housing for an electronic device. The housing may be made from a layered CFRP material or other fiber-in-matrix type material. In a sample embodiment, a spine or frame made from CFRP may support, and be attached to, a CFRP skin.

“The embodiment may house electronics or virtually anything else. By virtue of the similar materials used to form the frame and skin, the two components may robustly bond to one another and have similar, if not identical, coefficients of thermal expansion. The combination of the robust bond and similar thermal expansion coefficient may permit the embodiment to resist cracking that could plague other housings.

“Generally, the skin is formed from multiple layers of CFRP stacked atop one another. The carbon fibers in each adjacent layer generally run in different directions. This may permit the skin to bend in multiple directions without forming cracks that extend through all layers of the skin, since certain layers may crack while others bend.

“By tapering certain segments of the frame and forming a stair-step pattern in adjacent section of the skin, mechanical stresses may be spread over the tapered segments instead of being transmitted from the skin to a single, edge abutment between the two components. Since the stresses are spread across a larger area and not concentrated in a plane defining a joinder between the frame and skin, the skin may be less likely to separate from the frame under stress.”