An Apple patent (number 20100123785) involving a graphic control for directional audio input has appeared at the US Patent & Trademark Office. The invention relates to invention relate to the field of audio beamforming, and more specifically, to the aiming of audio beamforming.

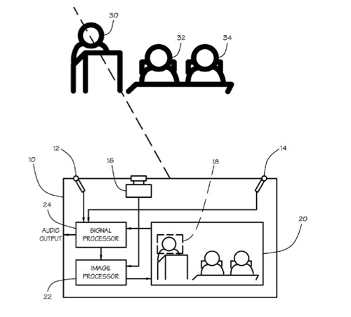
A device to provide an audio output includes a microphone array, a signal processor, and a graphic user interface (GUI). The signal processor is coupled to the microphone array to perform audio beamforming with input from the microphone array. The GUI is coupled to the signal processor to display a plurality of audio sources, to receive a selection of at least one of the plurality of audio sources from a user, and to provide the selection to the signal processor for aiming the audio beamforming toward the selected audio source. The selection may be made by touching the display.

The device may further include a camera and the GUI may display an image received from the camera as the plurality of audio sources. The camera may provide a moving video image and the signal processor may provide a synchronized audio signal aimed at the selected audio source. The inventors are Shahai Chen, Philip George Tamchina, Jae Han Lee, Chad G. Seguin and Michael Lee.

Here’s Apple’s background and summary of the invention: “Under typical imperfect conditions, a single microphone that is embedded in a mobile device does a poor job of capturing sound because of background sounds that are captured along with the sound of interest. An array of microphones can do a better job of isolating a sound source and rejecting ambient noise and reverberation.

“Beamforming is a way of combining sounds from two or more microphones that allows preferential capture of sounds coming from certain directions. In a delay-and-sum beamformer sounds from each microphone are delayed relative to sounds from the other microphones, and the delayed signals are added. The amount of delay determines the beam angle???the angle in which the array preferentially ‘listens.’When a sound arrives from this angle, the sound signals from the multiple phones are added constructively. The resulting sum is stronger, and the sound is received relatively well. When a sound arrives from another angle, the delayed signals from the various microphones add destructively???with positive and negative parts of the sound waves canceling out to some degree???and the sum is not as loud as an equivalent sound arriving from the beam angle.

“For example, if the sound comes into the microphone on the right before it enters the microphone on the left, then you know the sound source is to the right of the microphone array. During sound capturing, the microphone array processor can aim a capturing beam in the direction of the sound source. Beamforming allows a microphone array to simulate a highly directional microphone pointing toward the sound source. The directivity of the microphone array reduces the amount of captured ambient noises and reverberated sound as compared to a single microphone. This may provide a clearer representation of a speaker’s voice.

“A beamforming microphone array may made up of distributed omnidirectional microphones linked to a processor that combines the several inputs into an output with a coherent form. Arrays may be formed using numbers of closely spaced microphones. Given a fixed physical relationship in space between the different individual microphone transducer array elements, simultaneous digital signal processor (DSP) processing of the signals from each of the individual microphones in the array can create one or more ‘virtual’ microphones. Different algorithms permit the creation of virtual microphones with extremely complex virtual polar patterns and even the possibility to steer the individual lobes of the virtual microphones patterns so as to home-in-on, or to reject, particular sources of sound. Beamforming techniques, however, rely on knowledge of the location of the sound source. Therefore it is necessary to aim the beamforming at the intended sound source to benefit from the use of a microphone array.

“A device to provide an audio output includes a microphone array, a signal processor, and a graphic user interface (GUI). The signal processor is coupled to the microphone array to perform audio beamforming with input from the microphone array. The GUI is coupled to the signal processor to display a plurality of audio sources, to receive a selection of at least one of the plurality of audio sources from a user, and to provide the selection to the signal processor for aiming the audio beamforming toward the selected audio source. The selection may be made by touching the display. The device may further include a camera and the GUI may display an image received from the camera as the plurality of audio sources. The camera may provide a moving video image and the signal processor may provide a synchronized audio signal aimed at the selected audio source.”