Apple has filing for a patent that hints at future iPhones with Touch ID built into the screen itself.
About the patent filing
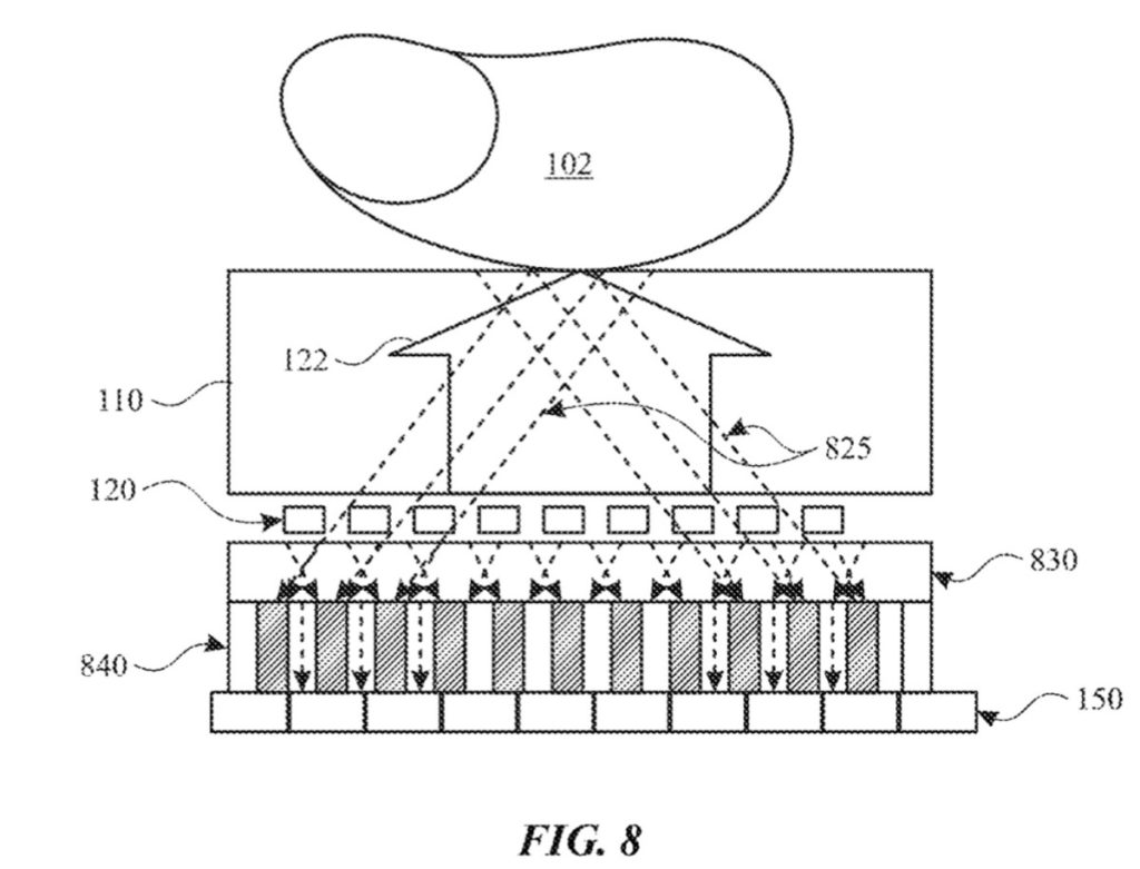
The patent is dubbed “Electronic Device With An Under-Display Sensor.” Fingerprint sensing and matching is widely used as a reliable technique for personal identification or verification. Apple says that an optical fingerprint-sensing device may be particularly advantageous for verification and/or authentication in an electronic device.
And if an optical fingerprint-sensing device is integrated into an electronic device or host device, the tech giant says the authentication can be performed quickly, for example, by a processor of the host device. Apple thinks a “fingerprint-sensing system/device with multidirectional illumination, such as an under-display fingerprint-sensing device” could “utilize oblique angular filters to capture the stronger signals to enhance image contrast.”
Summary of the patent filing
Here’s Apple’s abstract of the patent filing: “A display may overlap a sensor such as a camera or ambient light sensor. A portion of the display that overlaps the sensor may be modified to increase transparency relative to the remaining portion of the display. The modified portion of the display may have pixel islands that conform to a regular grid pattern of the remaining portion of the display.
“One or more gate lines and/or one or more data lines may pass through the modified portion of the display without connecting to any subpixels in the modified portion of the display. An opaque pixel definition layer may include some openings that are aligned with opaque masking layer openings to allow on-axis light to pass through to a sensor and some openings that are offset relative to respective opaque masking layer openings to allow off-axis light to pass through to the sensor.”
Article provided with permission from AppleWorld.Today

