Apple has been granted a second patent (number 11,281,884) that, along with a previous patent filing (number 20220012451), hint at future iPhones with Touch ID built into the screen itself.
About the patent
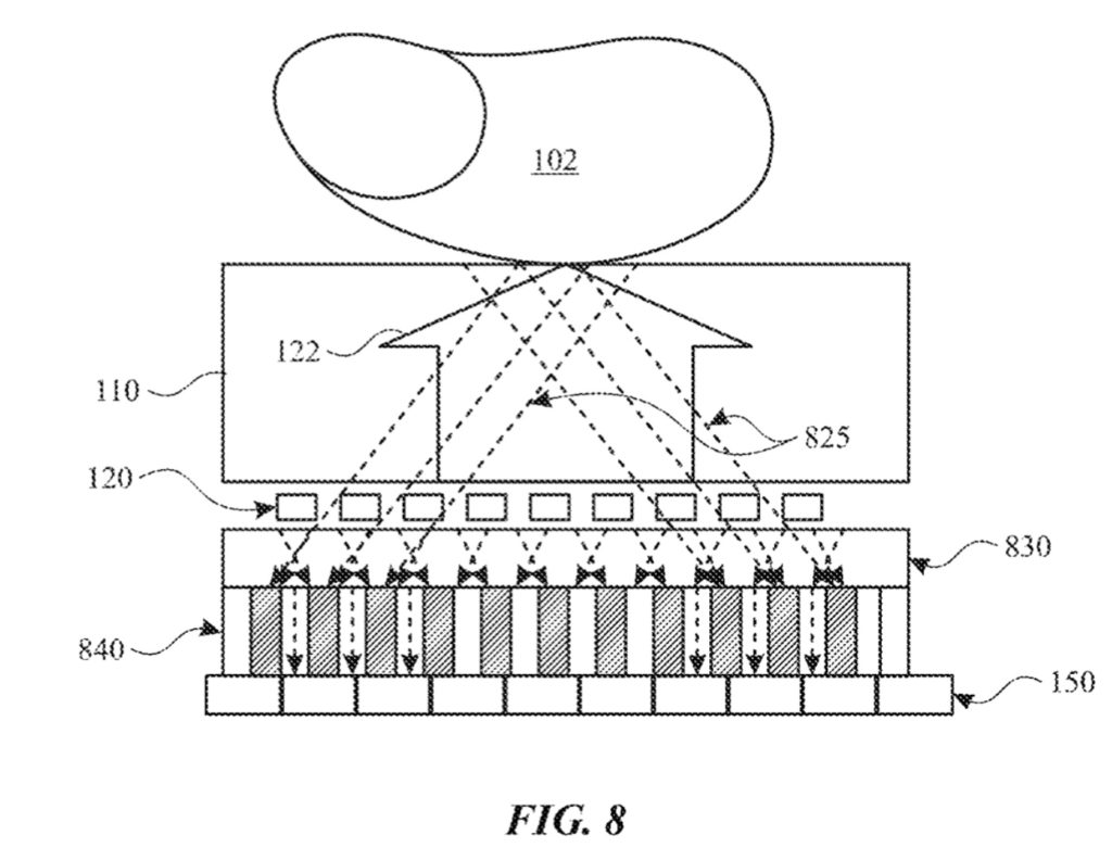
The patent is dubbed “under-display fingerprint sensing based on off-axis angular light.” Fingerprint sensing and matching is widely used as a reliable technique for personal identification or verification. Apple says that an optical fingerprint-sensing device may be particularly advantageous for verification and/or authentication in an electronic device.
And if an optical fingerprint-sensing device is integrated into an electronic device or host device, the tech giant says the authentication can be performed quickly, for example, by a processor of the host device. Apple thinks a “fingerprint-sensing system/device with multidirectional illumination, such as an under-display fingerprint-sensing device” could “utilize oblique angular filters to capture the stronger signals to enhance image contrast.”
Summary of the patent
Here’s Apple’s abstract of the patent with technical details: “An apparatus for touch-sensing includes a light-emitting layer covered by a transparent layer and configured to illuminate a surface touching the transparent layer and to allow transmission of reflected light rays from the surface to underlying layers. The underlying layers include an optical coupling layer, a collimator layer and a pixelated image sensor. The optical coupling layer bends the reflected light rays to create oblique light rays. The collimator layer includes a number of apertures to collimate the received light rays. The pixelated image sensor senses the collimated oblique light rays.”
Article provided with permission from AppleWorld.Today

