Apple is rumored to be planning smart home products such as a smart doorbell and security camera, but it may also be working on a “smart lamp.”
The company has been granted a patent for “Electronic Devices With Projectors Controlled by Voice Input.” Though accompanying images show a lamp, the patent also hints at Mac and iPads with built-in projectors.
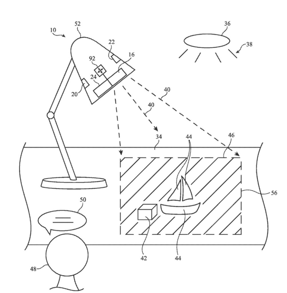
About the patent
The patent relates generally to electronic equipment, and, more particularly, to electronic devices with projectors. In the patent Apple notes that computers and other electronic devices may sometimes include displays. A display may present images to a user. With touch-sensitive displays, a user may interact with the images by providing touch input on the display.
However, Apple says that limitations may arise with traditional displays. For example, the user may wish to interact with real-world objects in the user’s environment in addition to or instead of interacting with images on a display. Interacting with displayed images that have no connection to real-world objects may leave the user feeling removed from the user’s real-world environment, says Apple.
The company’s idea is for an electronic device that may include a projector for creating the appearance of animated shadows on a surface. The animated shadows may be created by projecting animated shadows on a surface.
Summary of the patent
Here’s Apple’s abstract of the patent: “An electronic device may include an ambient light sensor that measures ambient light color, a projector that projects ambient-light-matching illumination onto a surface, a user input device such as a microphone that gathers user input, and a position sensor that measures a position of the surface, a user, and/or a real-world object relative to the device.
“The ambient-light-matching illumination may create illuminated regions on the surface that blend in with the surrounding ambient light. Certain pixels in the projector may be turned off to create one or more unilluminated regions within the illuminated regions. The unilluminated regions may form apparent shadows. Control circuitry in the electronic device may adjust characteristics of the unilluminated regions by dynamically adjusting which pixels are turned off based on voice input, gesture input, and/or other sensor data.”
I hope you’ll help support Apple World Today by becoming a patron. Patreon pricing ranges from $2 to $10 a month. Thanks in advance for your support.
Article provided with permission from AppleWorld.Today

