The upcoming Apple Vision Pro sounds cool, but Apple is apparently looking way beyond it for electronic devices with augmented reality (AR) projectors as evidenced by a newly granted patent (US 11740689 B1).
About the patent
In the patent filing, Apple says that limitations may arise with traditional computer displays. For example, the user may wish to interact with real-world objects in the user’s environment in addition to or instead of interacting with images on a display.
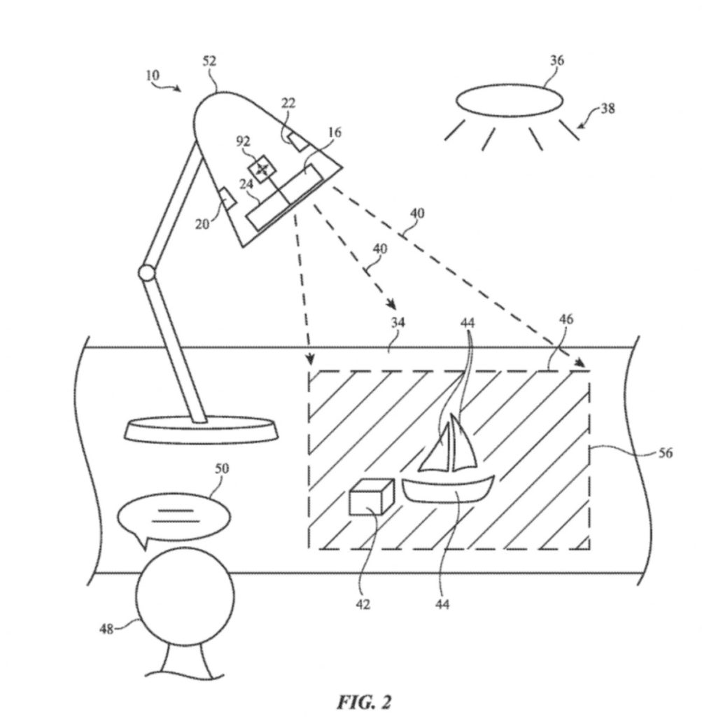
Apple says that “interacting with displayed images that have no connection to real-world objects may leave the user feeling removed from the user’s real-world environment.” The company’s patent includes devices such as a Mac (or a standalone device) equipped with a projector for creating the appearance of animated shadows on a surface.
The animated shadows may be created by projecting ambient-light-matching illumination onto the surface that blends in with the surrounding ambient light. Select pixels in the projector may be turned off so that one or more unilluminated regions are created within the surrounding illuminated region.
The unilluminated regions may appear darker than the surrounding illuminated region, giving the appearance of a shadow. Characteristics of the shadow such as shape, size, and location may be adjusted by dynamically adjusting which pixels are turned off and which pixels are turned on to provide ambient-light-matching illumination.
Summary of the patent
Here’s Apple’s abstract of the patent for those interested in the technical details: “An electronic device may include an ambient light sensor that measures ambient light color, a projector that projects ambient-light-matching illumination onto a surface, a user input device such as a microphone that gathers user input, and a position sensor that measures a position of the surface, a user, and/or a real-world object relative to the device.
“The ambient-light-matching illumination may create illuminated regions on the surface that blend in with the surrounding ambient light. Certain pixels in the projector may be turned off to create one or more unilluminated regions within the illuminated regions. The unilluminated regions may form apparent shadows. Control circuitry in the electronic device may adjust characteristics of the unilluminated regions by dynamically adjusting which pixels are turned off based on voice input, gesture input, and/or other sensor data.”
Article provided with permission from AppleWorld.Today

