Apple has been granted a patent (number US 12086596 B2) for “systems with overlapped displays.” It hints at new ways Macs, iPhones, and iPads could interact with each other.
About the patent
In the patent Apple notes that electronic devices such as computers and cellular telephones are often used as stand-alone devices. Although it is possible to wirelessly share data between these devices, sharing can be complex and cumbersome.
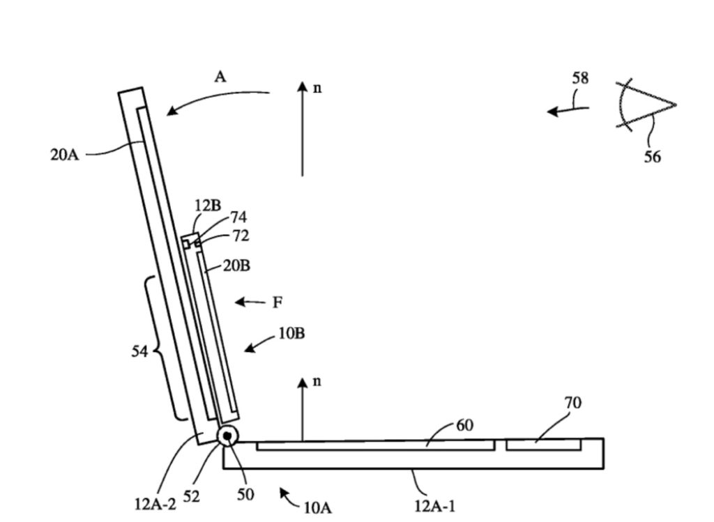
Apple wants to change this. Its patent involves a system where electronic devices that communicate wirelessly in new ways. The devices may include displays. In some arrangements, devices may be positioned so that the displays of the devices overlap.
When positioned so that a pair of devices overlap or are adjacent to one another, the devices may operate in a linked mode. During linked operations, devices may communicate wirelessly while input gathering and content displaying operations are shared among the devices.
For example, a user may seamlessly move a pointer that is present on the display of a first device to the display of a second device. Using the pointer or other user input, content may be moved between devices (e.g., a file on one display may be dragged and dropped onto another display, thereby sharing the file between devices).
What’s more, one or more devices in the system may have sensors. Sensor data such as motion and orientation data may be used in determining when devices should be linked. To determine which portion of a display in a first device is overlapped by a display in a second device, the system may adjust visual output on the display of the first device while gathering corresponding camera input or other optical measurements with the second device.
Summary of the patent
Here’s Apple’s abstract of the patent: “A system may include electronic devices that communicate wirelessly. When positioned so that a pair of devices overlap or are near to one another, the devices may operate in a linked mode. During linked operations, devices may communicate wirelessly while input gathering and content displaying operations are shared among the devices.
“One or both of a pair of devices may have sensors. An orientation sensor, motion sensor, optical sensor, and/or other sensors may be used in identifying conditions in which to enter the linked mode and to identify a region where displays in the pair of devices overlap.”
Article provided with permission from AppleWorld.Today

