Apple may have plans to kick its Sidebar feature up a notch as evidenced by a new patent filing.
Sidecar, introduced with macOS Catalina, allows users to extend their Mac desktop by using their iPad as a second display or as a high-precision input device across creative Mac apps. The new patent filing (US 20230205477 A1) is for systems with overlapped displays.
About the patent filing
The patent filing involves the ability for various Apple devices (Macs, iPads, and iPhones) to interact without having to take the current steps to implement Sidecar. For instance, they can communicate wirelessly and even positioned so that the displays of the devices overlap.
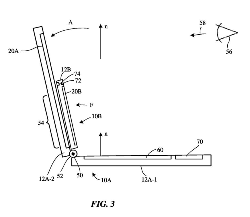
Apple says that when positioned so that a pair of devices overlap or are adjacent to one another, the devices may operate in a linked mode. During linked operations, devices may communicate wirelessly while input gathering and content displaying operations are shared among the devices.
For example, a user may seamlessly move a pointer that is present on the display of a first device to the display of a second device. Using the pointer or other user input, content may be moved between devices (e.g., a file on one display may be dragged and dropped onto another display, thereby sharing the file between devices).
What’s more, one or more devices in the system may have sensors. Sensor data such as motion and orientation data may be used in determining when devices should be linked. To determine which portion of a display in a first device is overlapped by a display in a second device, the system may adjust visual output on the display of the first device while gathering corresponding camera input or other optical measurements with the second device. A binary search or other position determination algorithm may be used by the system to identify the relative positions of the devices.
Summary of the patent filing
Here’s Apple’s abstract of the patent filing: “A system may include electronic devices that communicate wirelessly. When positioned so that a pair of devices overlap or are near to one another, the devices may operate in a linked mode. During linked operations, devices may communicate wirelessly while input gathering and content displaying operations are shared among the devices. One or both of a pair of devices may have sensors. An orientation sensor, motion sensor, optical sensor, and/or other sensors may be used in identifying conditions in which to enter the linked mode and to identify a region where displays in the pair of devices overlap.”
Article provided with permission from AppleWorld.Today

