Apple wants its Macs, iPads, iPhones, Apple Watches, and Vision Pros to tell you when they need charging. The tech giant has filed for a patent (number US 20240202092 A1) for “Smart Advice to Charge Notification.”
About the patent filing
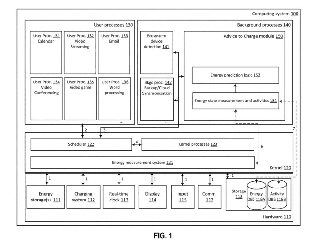
The patent relates to the field of determining that an electronic device needs to be charged. Specifically, it’s directed to systems and methods that advise a user to charge the electronic device.
In the patent filing Apple notes that a modern battery-powered electronic device can monitor the charge level of one or more batteries in the electronic device. Typically, when the battery level falls below a predetermined threshold value of remaining charge, then the electronic device notifies the user with a message such as “battery low” or other visual and/or audible indicator of the remaining charge level.
Often, a “battery low” indication that is based on a fixed threshold of charge remaining is not received in time for the user to take a corrective action. For example, if a user typically charges her smart phone at night, but forgets to do so on one occasion, receiving a “battery low” indication just before leaving for work the next day doesn’t leave the user time to charge her phone before work.
Apple wants to change this. Its idea is for Macs, iPhones, iPads, Apple Watches, and Vision Pros to be able to “learning” energy usage and charging patterns of a user. By detecting a user’s patterns in charging, and analyzing current and past state of charge information, it can be determined whether a user will run out of energy before her next charge. Given a current state of charge of an energy storage device computing system, a notification can be sent to the user if there is a high probability that the user is unlikely to make it until the next high probability charge time.
Summary of the patent filing
Here’s Apple’s abstract of the patent filing: “Systems and methods are disclosed for advising a user when an energy storage device in a computing system needs charging. State of charge data of the energy storage device can be measured and stored at regular intervals. The historic state of charge data can be queried over a plurality of intervals and a state of charge curve generated that is representative of a user’s charging habits over time. The state of charge curve can be used to generate a rate of charge histogram and an acceleration of charge histogram.
“These can be used to predict when a user will charge next, and whether the energy storage device will have an amount of energy below a predetermined threshold amount before the next predicted charging time. A first device can determine when a second device typically charges and whether the energy storage device in the second device will have an amount of energy below the predetermined threshold amount before the next predicted charge time for the second device. The first device can generate an advice to charge notification to the user on either, or both, devices.”
I hope that you’ll consider becoming a patron of Apple World Today. Prices range from $2 a month to $10 a month. You can sign up here. Thanks in advance for your support.
Article provided with permission from AppleWorld.Today

