Apple wants its devices to do a better job of alerting users when the devices need charging. The tech giant has been granted a patent (number US 11966315 B2) for “Smart Advice to Charge Notification.”
About the patent
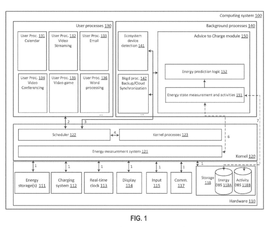
The patent involves determining that an electronic device needs to be charged. Specifically, the disclosure is directed to systems and methods that advise a user to charge the electronic device.
In the patent Apple notes that a modern battery-powered electronic device can monitor the charge level of one or more batteries in the electronic device. Typically, when the battery level falls below a predetermined threshold value of remaining charge, then the electronic device notifies the user with a message such as “battery low” or other visual and/or audible indicator of the remaining charge level.
However, Apple notes that, often, a “battery low” indication that is based on a fixed threshold of charge remaining is not received in time for the user to take a corrective action. For example, if a user typically charges her smart phone at night, but forgets to do so on one occasion, receiving a “battery low” indication just before leaving for work the next day does not leave the user time to charge her phone before work.
Apple says that what’s needed is a system for predicting when a user charges her computing system, and whether the computing system charge level will be below a predetermined threshold amount before the next predicted charging time. And then alerting the user that charging is needed.
Summary of the patent
Here’s Apple’s abstract of the patent: “Systems and methods are disclosed for advising a user when an energy storage device in a computing system needs charging. State of charge data of the energy storage device can be measured and stored at regular intervals. The historic state of charge data can be queried over a plurality of intervals and a state of charge curve generated that is representative of a user’s charging habits over time. The state of charge curve can be used to generate a rate of charge histogram and an acceleration of charge histogram.
“These can be used to predict when a user will charge next, and whether the energy storage device will have an amount of energy below a predetermined threshold amount before the next predicted charging time. A first device can determine when a second device typically charges and whether the energy storage device in the second device will have an amount of energy below the predetermined threshold amount before the next predicted charge time for the second device. The first device can generate an advice to charge notification to the user on either, or both, devices.”
Article provided with permission from AppleWorld.Today

