Is Apple planning a line of home automation systems that work with its Home app and HomeKit software framework? The tech giant has applied for a patent (number US 20230400574 A1) for a “System and Techniques for Improving In-Room Person Detection.”
About the patent filing
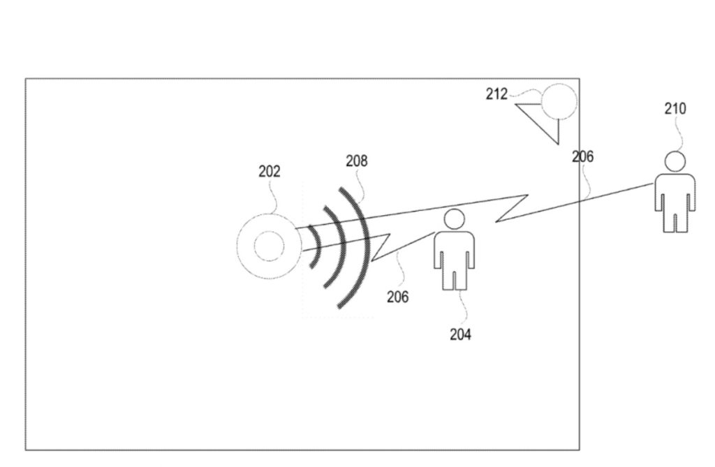
Home automation systems can be used to detect the presence or absence of persons in various rooms of a home. The home automation system may attempt to discover if a person is in a particular room using one or more sensors. For example, if a person is in a room, the home automation system can turn on or off lights, adjust the heating or air conditioning, or enable various electronic systems located in the room. However, Apple says that providing high accuracy in a manner that is not obtrusive to occupants can be difficult. The company’s idea, per the new patent filing, is for methods, systems, and apparatuses for improving in-room person detection.
A combination of wireless electromagnetic signals and ultrasonic radar (sonar) can be used to identify whether or not a potential target is inside or outside of the room. For example, if a target is identified via a return of wireless electromagnetic signal but is not detected using the ultrasonic radar (sonar), the target may be located outside the room. Ideally the use of ultrasonic radar (sonar) could be minimized by using it as a confirmation sensor as opposed to a primary sensor. Other sensors can also be used as confirmation sensors.
Electronic devices can often incorporate one or more microphones and one or more speakers that can provide the sonar signal that can provide increased coverage for the room. Detecting when a person or persons enters a room could result in the home automation system turning on lights, adjusting the temperature, etc.
Summary of the patent filing
Here’s Apple’s abstract of the patent filing: “A technique for determining a presence of a person in a room may include an electronic device transmitting an electromagnetic wireless signal of a first sensor. The technique may include receiving an electromagnetic return signal from the electromagnetic wireless signal. The technique may include detecting a potential target in the room based on the electromagnetic return signal.
“The technique may include determining that the potential target is in the room using a second sensor. Responsive to determining the potential target is in the room, the technique may include saving a training signature of the electromagnetic return signal for training a machine learning model. This technique can be repeated to obtain a set of training signatures corresponding to potential targets. The technique may include training, using the set of training signatures, the machine learning model to detect when a target is in the room using the first sensor.”
Article provided with permission from AppleWorld.Today

