Apple wants to make it easier to control multiple smart home devices with an iPhone. The company has filed for a patent (number US 20240161308) for an “Activity Zone for Camera Video.”
About the patent filing
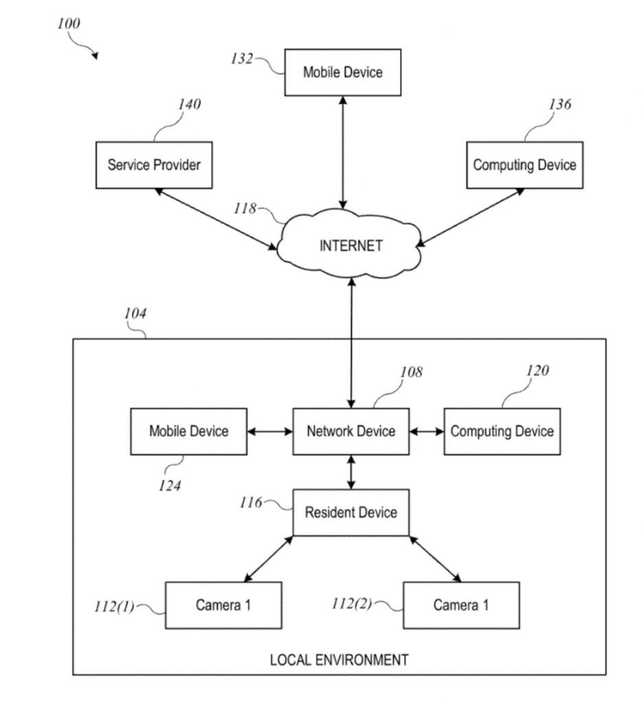
In the patent filing, Apple notes that electronic devices are becoming increasingly popular in a range of applications. Mobile phones, tablet computers, home entertainment systems, and the like are just some of the electronic devices users interact with regularly.
Another category of electronic devices that are becoming more popular includes various electronically controllable devices, such as thermostats, lighting devices, household appliances, security cameras, etc. Users want to control these devices easily and conveniently using mobile devices and the like and to automate their operation.
Apple’s patent filing involves multiple smart home devices. However, it specifically applies to surveillance cameras. Summary of the patent filing
Summary of the patent filing
Here’s Apple’s abstract of the patent: “Methods and systems are provided for establishing an activity zone within video captured by a camera. A user device may establish an activity zone or an exclusion zone within video representing a physical view captured by the camera. An automatic monitoring system may analyze the video of the camera with respect to the activity zone or exclusion zone and trigger notifications that are associated with a zone so as to limit notifications transmitted to the user device to those notifications that are relevant to the user. With activity or exclusion zones video from a camera may be automatically monitored to reduce a volume of notifications transmitted to the user device.”
I hope that you’ll consider becoming a patron of Apple World Today. Prices range from $2 a month to $10 a month. You can sign up here. Thanks in advance for your support.
Article provided with permission from AppleWorld.Today

