Apple has applied for a patent (number US 20230221822 A1) for a “Dynamic User Interface Adaptable To Multiple Input Tools” that promises even more interactive features between the iPad and the Apple Pencil.
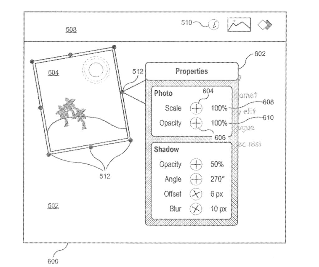
The patent filing relates generally to a user interface and in particular to a user interface element that dynamically adapts to different user input tools. It involves the graphical user interface element displayed by an iPad to be dynamically adapted to different user input tools, such as the Apple Pencil.
For example, this could include changing the number of input elements displayed on the screen (e.g., fewer and larger input elements for fingertip input than for stylus input), changing the arrangement of input elements (e.g., elements placed closer together for stylus input), changing a control-adjustment paradigm (e.g., slider buttons for fingertip input and rotation-based controls such as a virtual set-screw for stylus input), changing the manner of input (e.g., stroke-based input for stylus versus virtual keyboard for fingertip input), and more.
Here’s Apple’s summary of the patent filing: “A computing device having a touch-sensitive surface and a display, detects a stylus input on the touch-sensitive surface while displaying a user interface. A first operation is performed in the user interface in accordance with a determination that the stylus input includes movement of the stylus across the touch-sensitive surface while the stylus is detected on the touch-sensitive surface.
“A second operation different from the first operation is performed in the user interface in accordance with a determination that the stylus input includes rotation of the stylus around an axis of the stylus while the stylus is detected on the touch-sensitive surface. A third operation is performed in the user interface in accordance with a determination that the stylus input includes movement of the stylus across the touch-sensitive surface and rotation of the stylus around an axis of the stylus while the stylus is detected on the touch-sensitive surface.”
If you’d like to help support AWT (and help us reach our goal of eliminating ads), consider becoming a patron. We offer at least three patron-exclusive posts each week. You can start at only $2 per month (though $5/month gets you the exclusives).
Article provided with permission from AppleWorld.Today

