Let the Apple Car rumors roll on. Apple has been granted a patent (number 11,338,647) for a “vehicle thermal unit.”
About the patent
Apple’s patent involves keeping passengers warm and keeping the moving parts of the vehicle running cooly and smoothly. Examples of heat-generating components that need thermal management include drive motors, inverters, batteries, sensors, computers, and compressors. Apple notes that if the waste heat isn’t removed from these systems, they may overheat and/or fail prematurely. The heating and cooling requirements for certain subsystems may vary dependent upon environmental conditions or other factors.
In some situations, these subsystems may benefit from added heat, such as during cold-weather conditions. In addition, passenger compartments and other occupied spaces also benefit from thermal management to improve comfort during hot, humid, and cold conditions.
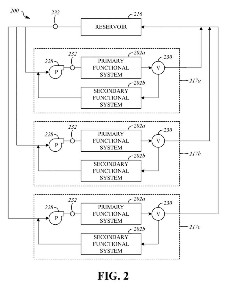
Among Apple’s ideas as expressed in the patent is a vehicle thermal system that includes a cabin heating loop, a powertrain loop, a combined-flow section, and a valve. The cabin heating loop circulates a liquid coolant to a cabin heating subsystem and is heated by a heat-generating component of a refrigeration-cycle thermal system.
The powertrain loop circulates the liquid coolant to a powertrain subsystem. The combined-flow section that mixes the liquid coolant from the cabin heating loop with a portion of the liquid coolant from the powertrain loop. The valve controls flow of the liquid coolant between the powertrain loop and the cabin heating loop.
Summary of the patent
Here’s Apple’s abstract of the patent (with lots of technical details): “A vehicle thermal system includes a heat-generating component, a heat-absorbing component, a liquid coolant reservoir for receiving and distributing a liquid coolant, a first liquid loop that is connected to the liquid coolant reservoir, includes a first pump upstream from a first functional component to circulate the liquid coolant, is heated by the heat-generating component, and includes a first valve downstream from the first functional component to control recirculation or return of the liquid coolant to the liquid coolant reservoir, and a second liquid loop that is connected to the liquid coolant reservoir, includes a second pump upstream from a second functional component to circulate the liquid coolant, is cooled by the heat-absorbing component, and includes a second valve downstream from the second functional component to control recirculation or return of the liquid coolant to the liquid coolant reservoir.”
When might we see an Apple Car?
On. Nov. 18, 2021, Bloomberg reported that Apple is accelerating development on its “Apple Car.” The article says the electric vehicle will be self-driving and could roll out in 2025.
What’s more, in a note to clients — as noted by AppleInsider — investment bank Wedbush says Apple is likely to announce a strategic electric vehicle partnership in 2022 to lay the groundwork for an “Apple Car” release in 2025.
Article provided with permission from AppleWorld.Today

