Apple has filed for a patent (number 20220004767) for a “method and device for presenting synthesized reality content in association with recognized objects.” It involves the rumored “Apple Glasses,” an augmented reality/virtual reality head-mounted display (HMD).
About the patent filing
In the patent filing, Apple notes that virtual reality (VR) and augmented reality (AR) are becoming more popular due to their remarkable ability to alter a user’s perception of the world. For example, VR and AR are used for learning purposes, gaming purposes, content creation purposes, social media and interaction purposes, or the like.
Apple says these technologies are becoming more commonplace due to, for example, miniaturization of hardware components, improvements to hardware performance, and improvements to software efficiency. As one example, a user may experience AR content superimposed on a live video feed of the user’s setting on a handheld display (e.g., an AR-enabled mobile phone or tablet with video pass-through).
As another example, a user may experience AR content by wearing a head-mounted device (HMD) or head-mounted enclosure that still allows the user to see his/her surroundings (e.g., glasses with optical see-through). As yet another example, a user may experience VR content by using an HMD that encloses the user’s field-of-view and is tethered to a computer.
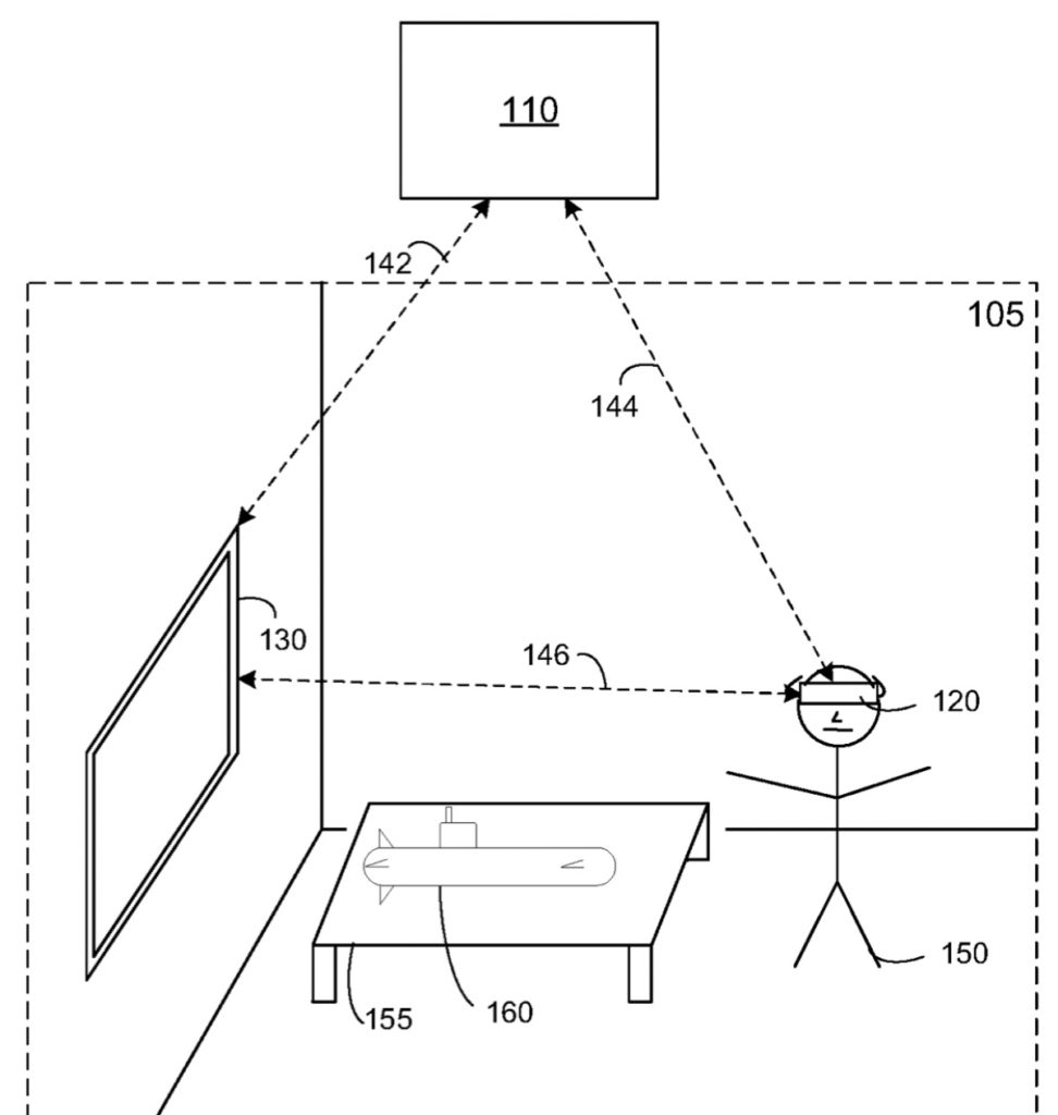
Apple’s patent filing involves devices, systems, and methods for presenting synthesized reality (SR) content in associated with recognized objects. The method includes: obtaining image data from an image sensor; recognizing a portion of an object within the image data; obtaining SR content associated with the portion of the object; and displaying the SR content in association with the portion of the object.
Summary of the patent filing
Here’s Apple’s abstract of the patent filing: “In one implementation, a method includes: obtaining image data from an image sensor; recognizing a portion of an object within the image data; obtaining synthesized reality (SR) content associated with the portion of the object; and displaying the SR content in association with the portion of the object. In some implementations, the SR content is dependent on the orientation of an electronic device or the user relative to the object. In some implementations, the SR content is generated based on sensor data associated with the object.”
About Apple Glasses
When it comes to Apple Glasses, such a device will arrive in 2022 or 2023, depending on which rumor you believe. It will be a head-mounted display. Or may have a design like “normal” glasses. Or it may be eventually be available in both. The Apple Glasses may or may not have to be tethered to an iPhone to work. Other rumors say that Apple Glasses could have a custom-build Apple chip and a dedicated operating system dubbed “rOS” for “reality operating system.”
Article provided with permission from AppleWorld.Today

