Apple has been granted a patent (number 11,120,612) for a “method and device for tailoring a synthesized reality experience to a physical setting.” It involves the rumored “Apple Glasses,” an augmented reality/virtual reality head-mounted display (HMD).
About the patent
In the patent data, Apple notes that virtual reality (VR) and augmented reality (AR) are becoming more popular due to their remarkable ability to alter a user’s perception of the world. For example, VR and AR are used for learning purposes, gaming purposes, content creation purposes, social media and interaction purposes, or the like.
These technologies differ in the user’s perception of his/her presence. VR transposes the user into a virtual space so their VR perception is different from his/her real-world perception. In contrast, AR takes the user’s real-world perception and adds something to it.
These technologies are becoming more commonplace due to, for example, miniaturization of hardware components, improvements to hardware performance, and improvements to software efficiency. As one example, a user may experience AR content superimposed on a live video feed of the user’s setting on a handheld display (e.g., an AR-enabled mobile phone or tablet with video pass-through). As another example, a user may experience AR content by wearing a head-mounted device (HMD) or head-mounted enclosure that still allows the user to see his/her surroundings (e.g., glasses with optical see-through).
As yet another example, a user may experience VR content by using an HMD that encloses the user’s field-of-view and is tethered to a computer. Apple wants the Apple Glasses to seamlessly apply AR and VR elements to a real world setting for an enjoyable user experience.
Summary of the patent
Here’s Apple’s abstract of the patent: “In one implementation, a method includes: obtaining locality data characterizing objects and relative spatial information of a volumetric region around a user; synthesizing a mesh map of the volumetric region based on the locality data; selecting synthesized reality (SR) content based on the mesh map, wherein the SR content satisfies a dimensional variance threshold relative to one or more portions of the mesh map; compositing at least a portion of the SR content with the mesh map in order to generate composite SR content; and presenting the composite SR content to the user in order to occlude at least a portion of a visual presentation of the volumetric region. In some implementations, the SR content is adapted to fit the one or more portions of the mesh map. In some implementations, the SR content is updated as the user location changes or the user interacts with the SR content.”
About Apple Glasses
When it comes to Apple Glasses, such a device will arrive in 2022 or 2023, depending on which rumor you believe. It will be a head-mounted display. Or may have a design like “normal” glasses. Or it may be eventually be available in both. The Apple Glasses may or may not have to be tethered to an iPhone to work. Other rumors say that Apple Glasses could have a cU.S.tom-build Apple chip and a dedicated operating system dubbed “rOS” for “reality operating system.”
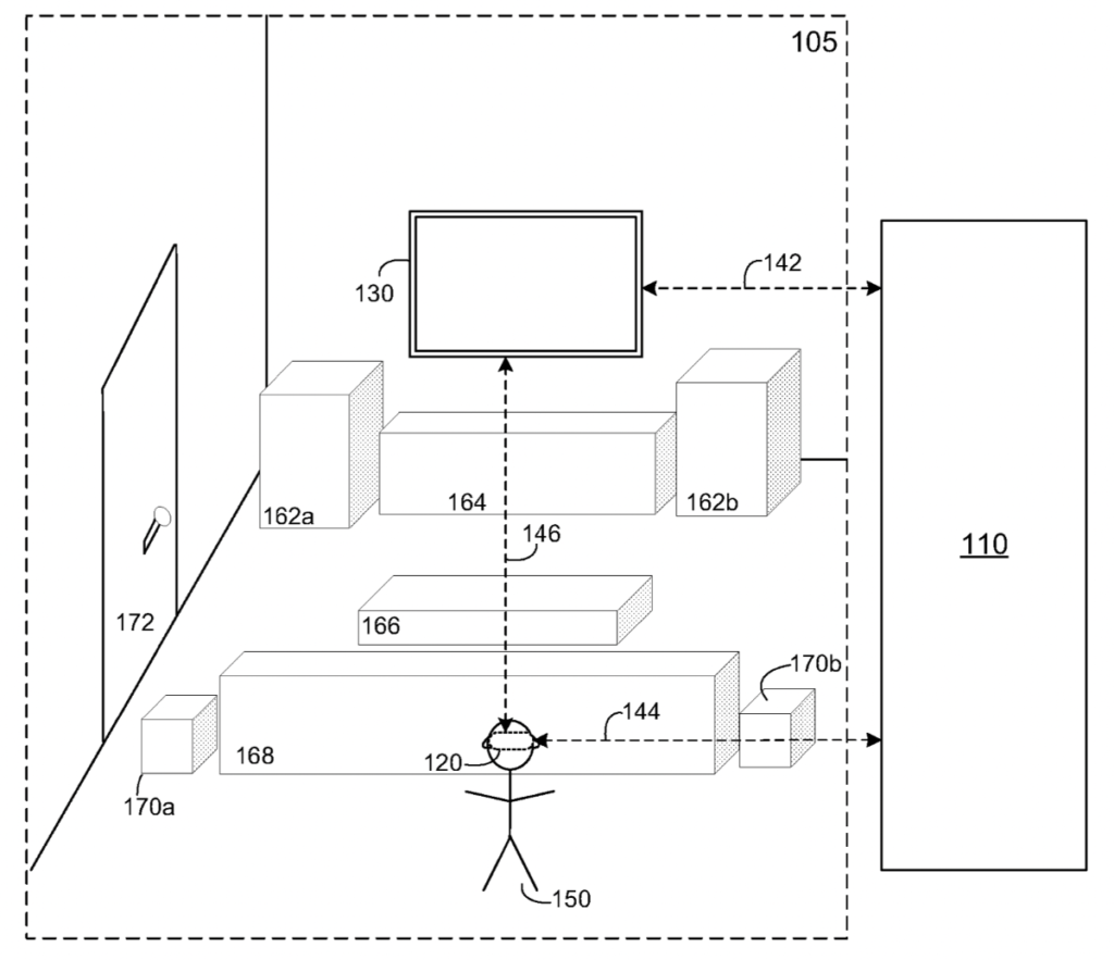
The accompanying graphic is a block diagram of a synthesized reality experience applied to a physical setting.
Article provided with permission from AppleWorld.Today

