Apple has been granted a patent (number 11,194,391) for “visual artifact mitigation of dynamic foveated displays.” It involves the ability of various future devices — Macs, iPads, iPhones, displays on the rumored Apple Car — to have gaze detection features.
Such features would follow and respond to a user’s eye movements.
About the patent
Numerous electronic devices–such as televisions, portable phones, computers, wearable devices, vehicle dashboards, virtual-reality glasses, and more–include electronic displays. In some cases, electronic displays may show images or frames of content such as photographs, videos, and video games in a foveated manner.
Foveation refers to a technique in which the amount of detail or resolution is varied across an image based on a fixation point, such as a point or area within the image itself, a point or region of the image on which a viewer’s eyes are focused, or based on the gaze movement of the viewer’s eyes. More specifically, the amount of detail can be varied by using different resolutions in various portions of an image.
For instance, in one area of an electronic display, one pixel resolution may be used to display one portion of an image, whereas a lower or higher pixel resolution may be used to display another portion of the image in another area of the electronic display.
In dynamic foveation, the areas of the electronic display at which the various resolutions are used may change between two or more images based on the viewer’s gaze. For example, in content that uses multiple images, such as videos and video games, the content may be presented to viewers by displaying the images in rapid succession.
The portions of the screen in which the content is displayed with a relatively high and low resolutions may change. For instance, when viewing a first image in a video, the viewer’s eyes may be focused on something in the image that is displayed in the top left corner of the electronic display. Because the viewer’s eyes are focused on the top left corner, the top left corner of the electronic display may present the content with a higher resolution than the other areas of the display. However, the viewer’s eyes may then focus on another portion of the electronic display such as the bottom left corner. A subsequent image of the content to be displayed may then have a higher resolution in the bottom left corner, and the resolution in other portions of the electronic display will be lower.
As the areas of the electronic displays in which high resolution and lower resolutions occur change, visual artifacts may occur. For example, the human eye may perceive flickering on the electronic display. What’s more, visual artifacts can also occur when an electronic device on which the electronic display is included loses track of the location on the electronic display at which a viewer’s eye are focused.
Summary of the patent
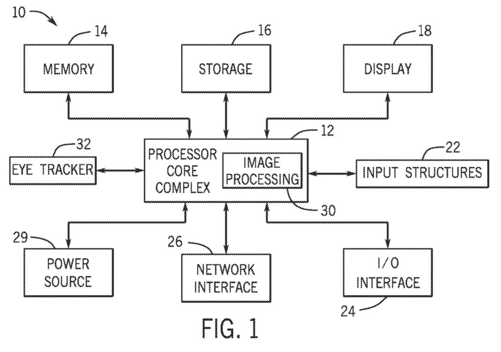
Here’s Apple’s abstract of the patent: “The present disclosure relates to electronic devices that include displays that show dynamic foveated content. For example, portions of the content may be shown in different resolutions on different areas of the display based on a user’s gaze that can be monitored with an eye tracker.
“Based on eye tracking data collected by the eye tracker, a processor of the electronic device may stop or slow the transmission of pixel data associated with one or more frames of the content. Additionally, the processor may generate pixel data such that the display may gradually transition from employing dynamic foveation to employing static foveation.”
Article provided with permission from AppleWorld.Today

