Apple has filed for a patent (number 20210302745) for a “head-mounted electronic device with self-mixing sensors.” It involves the rumored “Apple Glasses,” an augmented reality/virtual reality heads-mounted display (HMD).
About the patent filing
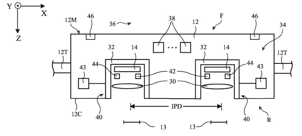
Apple says that optical components may be supported by the head-mounted housing in its HMD. The optical components may include cameras such as front-facing cameras and/or optical modules that have displays for displaying images to eye boxes.
Optical self-mixing sensors may be provided in the head-mounted device to detect changes in position between portions of the head-mounted device. These changes may include changes in the positions between optical module components such as lenses and displays. These changes may also involve movement of optical components such as cameras.
In response to detecting a change in optical component position using the optical self-mixing sensors (e.g., a change indicating that a component or other structure has moved from its desired position), actuators in the device may be adjusted to move the optical components or other action may be taken to compensate for the change.
Summary of the patent filing
Here’s Apple’s abstract of the patent filing: “A head-mounted device may have a head-mounted housing and optical components supported by the head-mounted housing. The optical components may include cameras, movable optical modules, and other components. Each optical module may include a display that displays an image and a lens that provides the image to a corresponding eye box.
“Optical self-mixing sensors may be included in the optical modules and other portions of the head-mounted device to measure changes in optical component position. In response to detecting a change in optical component position, actuators in the device may be adjusted to move the optical components or other action may be taken to compensate for the change.”
FIG. 1 is a top view of an illustrative head-mounted device.
Article provided with permission from AppleWorld.Today

