Apple has been granted a patent (number 11,137,596) for “optical adjustment for head-mountable device.” It involves the rumored “Apple Glasses,” an augmented reality/virtual reality head-mounted display (HMD).
About the patent
Apple says its HDM can be used as a virtual reality (VR) system, an augmented reality (AR) system, and/or a mixed reality (MR) system. A user may observe outputs provided by the head-mountable device, such as visual information provided on a display. The display can optionally allow a user to observe an environment outside of the head-mountable device.
Other outputs provided by the head-mountable device can include speaker output and/or haptic feedback. A user may further interact with the head-mountable device by providing inputs for processing by one or more components of the head-mountable device. For example, the user can provide tactile inputs, voice commands, and other inputs while the device is mounted to the user’s head.
Summary of the patent
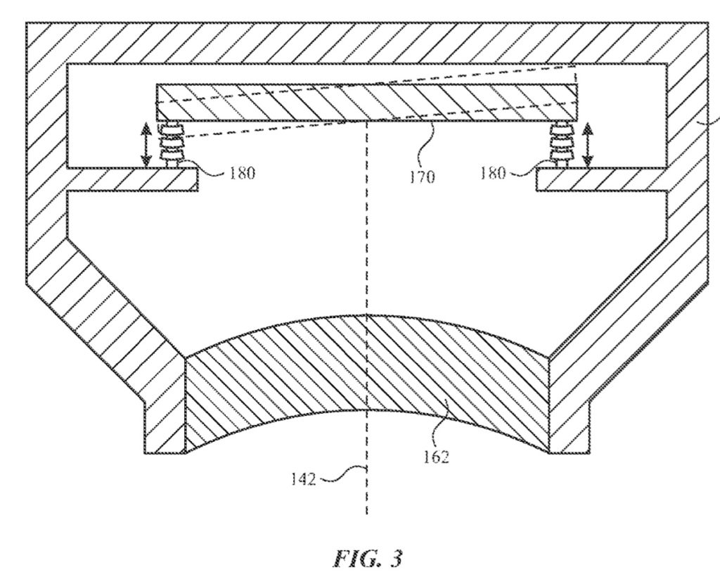
Here’s Apple’s abstract of the patent: “A head-mountable device can include an optical module that provides a display element and/or an optical element that are adjustably mounted. The display element and/or another optical element can be adjusted by actuation of a mechanism that allows the display element and/or the optical element to move in one or more (e.g., six) degrees of freedom (roll, pitch, and yaw).
“The actuation allows for the position of the display element to be adjusted relative to the optical element to correct for any displacements caused during operation of the head-mountable device. One or more sensors within the optical module or external to the optical module and/or the head-mountable device can detect the position of the display at an initial state as well as thereafter. The sensors can check for changes in the position of the components to provide a basis for the actuation.”
About Apple Glasses
When it comes to Apple Glasses, such a device will arrive in 2022 or 2023, depending on which rumor you believe. It will be a head-mounted display. Or may have a design like “normal” glasses. Or it may be eventually be available in both. The Apple Glasses may or may not have to be tethered to an iPhone to work. Other rumors say that Apple Glasses could have a custom-build Apple chip and a dedicated operating system dubbed “rOS” for “reality operating system.”
FIG. 3 illustrates a sectional view of an optical module of the head-mountable device.
Article provided with permission from AppleWorld.Today

