Spike Fearn To Star In Apple Original Films’ ‘Running’
Rising English actor Spike Fearn (“Alien: Romulus”) has landed the lead role in Apple Original Films’ upcoming “Running,” reports Deadline. Based on an original story by writer/director Gavin O’Connor (“Warrior,” “The Way Back”), and a screenplay written by Ozark‘s...
News items you should check out: January 14
Since I can’t cover everything, here are some recommended articles from other websites. ° From MacRumors: Apple’s retail store in Santa Rosa, California will be moving from the Santa Rosa Plaza shopping mall to the open-air Montgomery Village shopping plaza later this...
Apple publishes Shazam-determined Fast Forward list and Apple Music playlist
Apple’s has published its annual Fast Forward list via its Shazam app, and an accompanying Apple Music playlist. According to Apple, Fast Forward takes a look ahead at some of the most exciting talent being discovered on Shazam. Spanning genres and borders,...
Apple TV movies and shows nominated for 12 Visual Effects Society Awards
Apple TV movies and shows are nominated for 12 Visual Effects Society Awards. “F1” and “The Lost Bus” are nominated for “Outstanding Visual Effects in a Photoreal Feature.” “F1” is also nominated for “Outstanding Compositing & Lighting in a Feature.” “The Lost...
Apple introduces a collection of apps for the Mac and iPad dubbed Apple Creator Studio
Apple has unveiled Apple Creator Studio, a collection of “creative apps designed to put studio-grade power into the hands of everyone.” The apps included with Apple Creator Studio for video editing, music making, creative imaging, and visual productivity, said Eddy...
A brand-new Titan is coming in the second season of Apple TV’s ‘Monarch: Legacy of Monsters’
Apple TV has released a new teaser for the upcoming second season of “Monarch: Legacy of Monsters,” its hit Monsterverse series starring Kurt Russell, Wyatt Russell, Anna Sawai, Kiersey Clemons, Ren Watabe, Mari Yamamoto, Joe Tippett and Anders Holm. The...
Apple releases second public betas of macOS Tahoe 26.3, iOS 26.3, iPadOS 26.3, tvOS 26.3, watchOS 26.3
Apple has released the second public betas of macOS Tahoe 26.3. iOS 26.3, iPadOS 26.3, tvOS 26.3, and watchOS 26.3. Public betas are available on Apple’s Beta Software Program website. Just remember that beta software is unfinished software, so proceed with...
Apple releases new firmware for the AirPods Pro 2 and AirPods Pro 3
Apple has released new firmware for the AirPods Pro 2 and AirPods Pro 3. There are no release notes for the update. Installation is automatic when the AirPods are in their charging case, the case is plugged into a charger, and the linked iPhone is in close...
Report: AI Smart Glasses to Quadruple Revenue in 2026 as Apple and Samsung Prepare to Enter the Market
Smart Analytics Global (SAG) has released its latest “AI Smart Glasses Feature Report,” forecasting that the global AI smart glasses market will enter a breakout growth phase in 2026, driven by the commercial success of Ray-Ban Meta and the anticipated entry of major...
Study: Apple, Amazon, and Starbucks are being hurt by anti-American sentiment abroad
Anti-American sentiment is hurting sales prospects abroad according to 62% of global marketers at US firms, and they say the trend is likely to continue. This is from a study from the American Marketing Association – New York: “Building Bridges: Global Marketing in An...
Apple TV plans docuseries on the life of tennis lesson Andre Agassi
The life of tennis legend Andre Agassi is set to be explored in a multi-part docuseries for Apple TV, reports Deadline. Chris Smith — who has directed documentaries including Jim & Andy: The Great Beyond, Wham! and Devo — will direct. The docuseries is the...
Logitech has issued a patch to fix a problem with its Logi Options+ software
As noted by Macworld, Logitech has issued a patch to fix a problem with its Logi Options+ software that causes its mice to stop working. The problem was caused by an expired certificate required for the apps to run,” according to a Logitech support document. Because...
The number of patents Apple was granted dropped 12% from 2024 to 2025
After seven years of growth, U.S. patent applications headed sharply downward, dropping 9% from 2024, the lowest level since 2019. Apple ranked sixth among global companies and the number of patents they filed. The tech giant was granted 2,722 U.S. patents in...
News items you should check out: January 13
Since I can’t cover everything, here are some recommended articles from other websites. ° SemiAnalytics: Apple’s annual spend at TSMC grew from $2 billion in 2014 to $24 billion in 2025. ° From MacRumors: Google has confirmed that its Chrome 150 browser update...
Well, IDC says global Mac sales only grew 0.2% annual as of the fourth quarter of 2025
Global personal computer (PC) shipments grew 9.6% year-over-year in the fourth quarter of 2025, reaching 76.4 million units, according to preliminary results from the International Data Corporation (IDC) Worldwide Quarterly Personal Computing Device Tracker. And it...
Apple TV, Apple Original Films’ productions up for 10 Golden Reel Awards
The Motion Picture Sound Editors have announced the nominees for its 2026 Golden Reel Awards. Apple scored two nominations. And Apple nabbed 10 nominations. The awards honor outstanding achievement in sound editing, sound design, music editing and...
Apple will use Google’s Gemini for its AI-powered Siri
Apple is teaming up with Google to use Gemini models for an AI-powered Siri, reports CNBC. The multiyear partnership will lean on Google’s Gemini and cloud technology for future Apple foundational models, according to a joint statement obtained by CNBC’s Jim Cramer....
‘Stuff’ magazine names Apple Music the best overall music streaming service
“Stuff” magazine has named Apple Music the “Best Music Streaming Service” overall.” The magazine says it ““ excels with its vast library, seamless integration with Apple devices, curated playlists, and exclusive releases.” “Stuff says the “pros” of Apple Music are:...
Apple TV productions receive 22 nominations at the for the 57th NAACP Image Awards
Apple TV productions received 22 nominations at the 57th NAACP Image Awards. The NAACP Image Awards is an annual awards ceremony presented by the U.S.-based National Association for the Advancement of Colored People to honor outstanding performances in film,...
Global Mac sales grew 1.9% in the fourth quarter of 2025
The latest research from Omdia reveals that total shipments of desktops, notebooks and workstations in quarter four (Q4) of 2025 grew 10.1% to 75 million units. And Mac sales grew slightly: 1.9% annually. Apple sold approximately 7 million Macs in Q4 for 9.4%...
Apple led the global smartphone market with 20% share in 2025
Global smartphone shipments grew 2% year-over-year (YoY) in 2025, driven by increasing premium demand and improving momentum in key emerging markets, according to new data from Counterpoint Research. And Apple led the global smartphone market with 20% share and...
Apple TV shows collect three wins at the 83rd Annual Golden Globes Awards
Apple TV was honored with three wins at the 83rd Annual Golden Globe Awards. They include Best Television Series — Musical or Comedy for “The Studio,” Best Performance by a Male Actor in a Television Series — Musical or Comedy for “The Studio” lead Seth Rogen, and...
Apple seeds second round of developer betas for most of its operating systems
Apple has released the second round of developer betas for most of its operating systems. They include macOS Tahoe 26.3, iOS 26.3, iPadOS 26.3, tvOS 26.3, visionOS 26.3, and watchOS 26.3. Registered developers can download the betas via Apple’s developer portal. Or...
Apple says 2025 marked a record-breaking year for Apple services
In an online note by Eddy Cue, Apple’s senior vice president of Services, the tech giant says 2025 was a record-breaking year for Apple services, marked by remarkable growth, global expansion, and continuous innovation. Here are some highlights from the report: ...
Apple Original Films’ ‘F1’ is nominated for three Online Film Critics Awards
Apple Original Films’ “F1” is nominated for “Best Editing,” “Best Sound Design,” and “Best Visual Effects” at this year’s Online Film Critics Society Awards. Comprised of nearly 300 voting members from around the world, the Online Film Critics Society was founded in...
India is purportedly proposing ridiculous requirements for tech companies like Apple
India is proposing a requirement that smartphone makers have to share source code with the government, as well as make software changes, reports Reuters (a subscription is required to read the entire article). In the opinion of the Sellers Research Group (that’s me)...
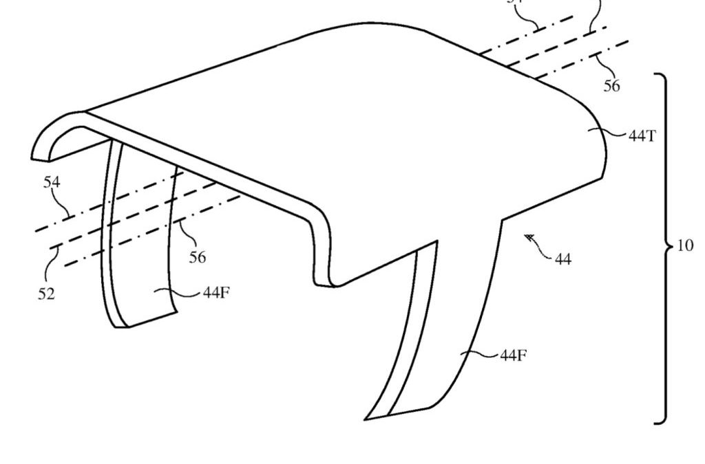
The Apple Pencil may one day be used to sketch virtual objects
The Apple Pencil may one day be able to sketch virtual objects, as hinted in an Apple patent filing for a “method and device for sketch-based placement of virtual objects.” About the patent filing Apple notes that, in some instances, a user may populate their...
Top Apple-related stories for the week of January 5-9
Here are the top Apple-related articles at Apple World Today for the week of January 5-9. ° Apple TV won seven trophies at the 31st annual Critics Choice Awards. ° Spectrum Front Row in Apple Immersive kicked off Friday, January 9, bringing Lakers fans a...
Apple’s board of directors waives its age cap so two current members can re-up
Apple’s board of directors has waived its age cap so two members can be up for re-election, reports the Wall Street Journal. The tech giant’s board said in a Thursday filing it determined it would be in the best interests of Apple and its shareholders to ask Chair Art...
One Apple one, one documentary, three series nab five PGA nominations
The Products Guild of America has announced its PGA Awards nominations. Apple has picked up five nominations. Apple Original Films’ “F1” is nominated for the “Darryl F. Zanuck Award for Outstanding Producer of Theatrical Motion Pictures.” Four Apple TV series got...