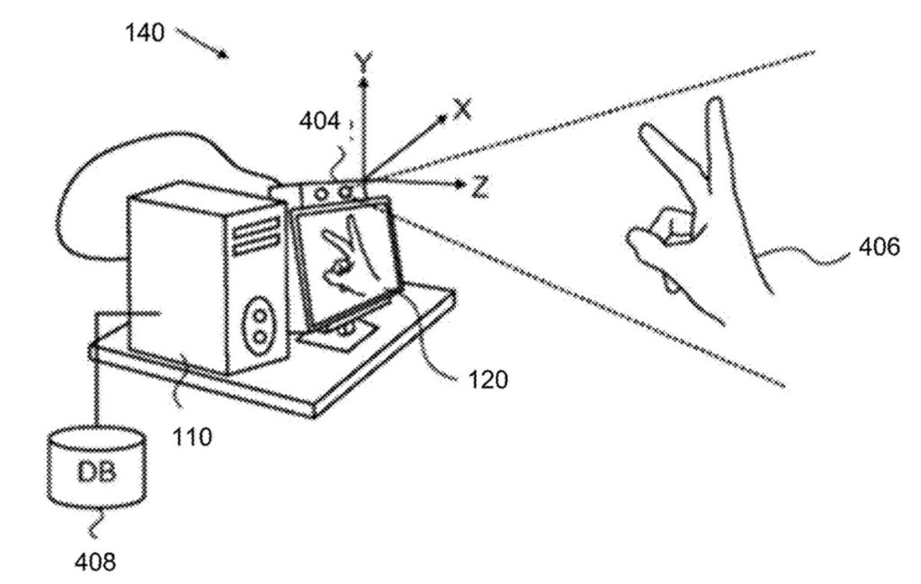
Apple wants Macs to be able to detect, manipulate 3D objects Dennis Sellers 12 months ago Be a patron to read this exclusive content! To view this content, you must be a member of Apple’s Patreon at $5 or more Already a qualifying Patreon member? Refresh to access this content. Share this: Apple looks to make it to share portions content itemsDateJuly 24, 2023In relation toMacTech NewsApple granted patent for ‘enhanced content positioning’ on an iPhone, iPadDateApril 12, 2023In relation toMacTech BlogApple patent involves sharing, interacting with content in a 3D environmentDateMarch 23, 2026In relation toMacTech News Article provided with permission from AppleWorld.Today