Apple has filed for, and/or been granted dozens of patents for flexible or foldable iPhones. A newly granted patent (number US 12279385 B2) hints at smartphones with “sliding expandable displays.”
About the patent
In the patent data, Apple says that, a display on an electronic device such as an iPhone may not offer sufficient screen real estate to display information of interest to a user. At the same time, it can be difficult to enlarge the size of electronic devices too much to accommodate larger displays, because this can make devices too bulky. The tech giant’s solution: an electronic device with have a housing that allows a sliding expandable display.
Summary of the patent
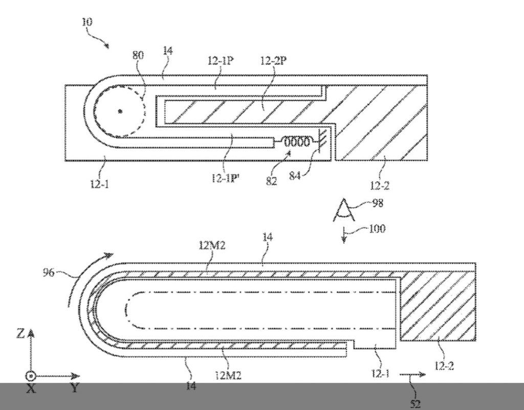
Here’s Apple’s abstract of the patent: “A display may be supported on a surface of the housing such as on a front face of the housing. The housing portions may slide between an unexpanded state in which the display has an unexpanded viewable area on the front face and an expanded state in which the display has an expanded viewable area on the front face that is greater than the unexpanded viewable area.
“The housing portions may have interior regions that contain electrical components. The display may be formed from a flexible display substrate. A portion of a flexible display may be stored in an interior region of the housing when the housing is in the unexpanded state. In the unexpanded state, the flexible display may have one or more bends and may double back on itself one or more times.”
Article provided with permission from AppleWorld.Today

