Apple wants to make it easy to trace 3D objects on iPads, iPhones, and Macs. The tech giant has filed for a patent (number US 20240319867 A1) for “Systems, Methods, and User Interfaces for Object Tracing.”
About the patent filing
In the patent filing Apple says that tracing objects or images is a useful technique to improve artistic and functional replications of portions of such objects or images. However, the tech giant adds that accurately tracing objects, particularly three-dimensional objects can be “inefficient, challenging, or even impractical.”
Apple wants to change this. The new patent filing involves a user interface for tracing objects on a device configured to display representations of one or more objects within a 3D environment of the computer system.
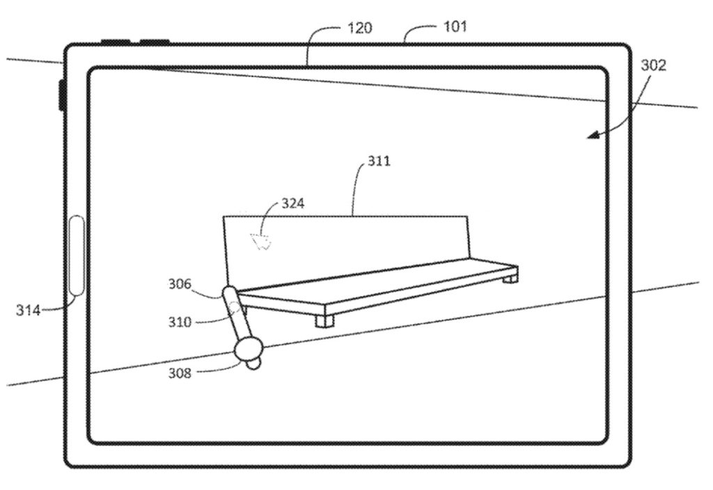
In some embodiments, a computer system is configured to display visual representations of tracing objects, such as virtual ink, in accordance with movement of an input object, such as a hand of the user, a device in communication with the computer system (say, an iPad working with a Mac), and/or the hand of the user and the device.
While the tracing mode is enabled, virtual ink is displayed along edges, contours, and/or surfaces of an object targeted by tracing based on the movement of the input object. In some embodiments, the tracing is based on a projection of a position of the input object toward the target object. The computer system can display representations of a depth evaluation region, candidate edges, contours, and/or surfaces.
Summary of the patent filing
Here’s Apple’s abstract of the patent filing: “In some embodiments, an electronic device is configured to present user interfaces to facilitate tracing of objects within a three-dimensional environment of the electronic device. In some embodiments, the objects are physical and/or virtual. In some embodiments, the electronic device detects input directed to an input object and displays virtual ink tracing objects in accordance with the input.”
I hope you’ll help support Apple World Today by becoming a patron. All our income is from Patreon support and sponsored posts. Patreon pricing ranges from $2 to $10 a month. Thanks in advance for your support.
Article provided with permission from AppleWorld.Today

