A newly granted patent (number US 12089050 B2) shows that future Apple devices may pair with each other based on how close or far apart they are.
About the patent
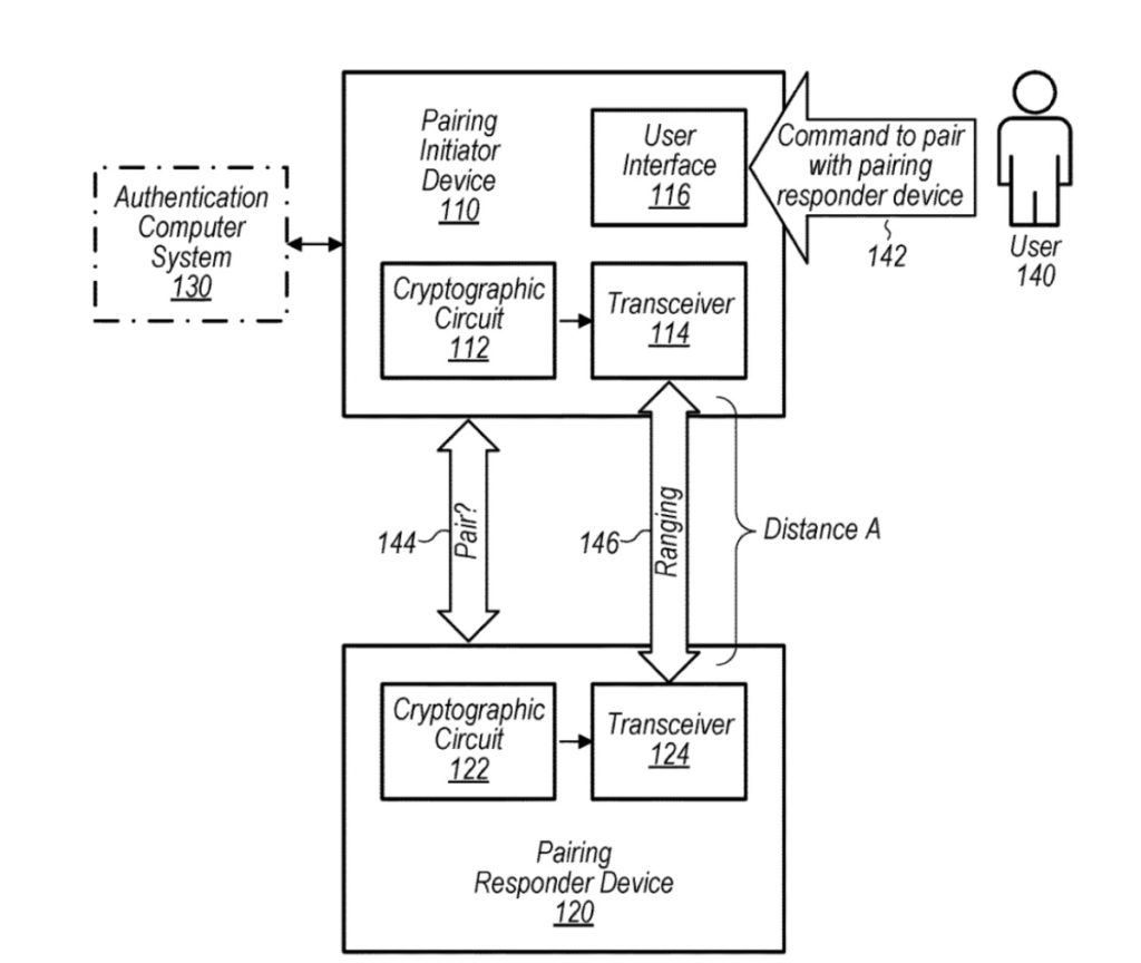
The patent concerns pairing between two devices such that the two devices can exchange messages with one another after the pairing operation is completed. One of these devices, a pairing initiator device, receives a command from a user to pair with the other device, a pairing responder device.
The pairing initiator device initiates the pairing operation by communicating with the pairing responder device. After a determination is made as to the authenticity of the pairing responder device, the pairing initiator device and pairing responder device exchange communications to range with each other to determine a distance between the pairing initiator device and pairing responder device.
Based on the distance being below a threshold, the pairing initiator device and pairing responder device wirelessly pair with each other without further input from the user beyond the command to pair that initiated the pairing operation.
Summary of the patent
Here’s Apple’s abstract of the patent: “Techniques disclosed herein relate to the pairing of a pairing initiator device and a pairing responder device for communication. The pairing initiator device and the pairing responder device range with each other to determine the distance between the pairing initiator device and the pairing responder device. Based on the distance being below a threshold distance, the pairing initiator device and the pairing responder device wirelessly pair with each other without further input from the user.”
Article provided with permission from AppleWorld.Today

