Apple wants its devices to be able to better differentiate between deliberate and non-deliberate touches by a user. The tech giant has been granted a patent (number US 12067188 B2) for “Systems, Methods And Apparatus For Through Skin Communication And Noise Disambiguation.”
About the patent
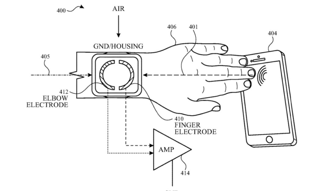
The relates generally to systems and methods of detecting and disambiguating touch of a user on an electronic device, and more particularly, to determining if touch is intentional and performed by a part of the body corresponding to the user of a wearable device.
In the patent Apple notes that many types of input devices are presently available for performing human computer interfacing with a computing system, such as buttons or keys, mice, trackballs, joysticks, touch sensor panels, touch screens, and the like. In some examples, electronic devices can be configured to detect touch of a user.
The detection of touch, however, can be sensitive to false positives caused by signals unintentionally coupling a device. Apple wants a system that can reliably detect contact and disambiguate intentional touch events of a user is desired.
Summary of the patent
Here’s Apple’s abstract of the patent: “Sensing circuitry of a first electronic device can be configured to sense a signal transmitted by the second, external electronic device contacting and coupling through the body of the user. The first electronic device can be configured to detect the contact while receiving data from the second device, and determine whether the signal transmitted by the external device corresponds an “intentional touch,” or corresponds to a signal coupling between a different body part and the external device or through a different signal pathway (e.g., electromagnetically, through the air, etc.).”
I hope you’ll help support Apple World Today by becoming a patron. All our income is from Patreon support and sponsored posts. Patreon pricing ranges from $2 to $10 a month. Thanks in advance for your support.
Article provided with permission from AppleWorld.Today

