Apple wants to enhance the meditation features of its Fitness+ app. The tech giant has filed for a patent (number US 20240115831 A1) for “Enhanced Meditation Experience Based on Bio-Feedback.”
About the patent filing
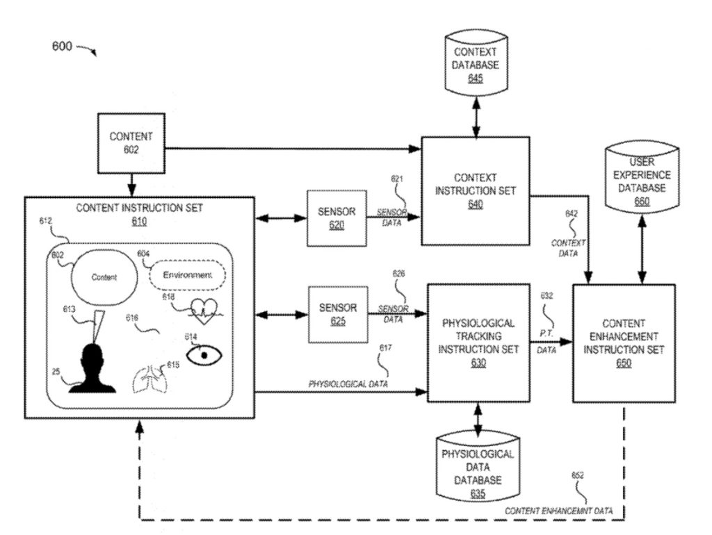
The patent filing generally relates to presenting content via electronic devices, and in particular, to systems, methods, and devices that determine a respiratory state and attention state during and/or based on the presentation of electronic content.
In the patent filing, Apple notes that electronic devices may be used to help users engage in various experiences in which particular user states are desired. For example, an electronic device may be used to present content that guides a user through a meditation experience in which the user desires to relax and/or focus on something such as his or her breathing.
Apple says that such content is generally not responsive or adaptive to the user’s actual state and thus may not be as effective or efficient as desired. The company wants to change this; the Apple Watch seems to be the most likely device to incorporate features of the patent filing.
Summary of the patent filing
Here’s Apple’s abstract of the patent filing: “Various implementations disclosed herein include devices, systems, and methods that provide customized feedback content during a meditation experience. For example, an example process may include obtaining physiological data via one or more sensors, determining that an attentive state based on the physiological data, customizing feedback content based on a user attribute to change the attentive state during the meditation mode, and providing the customized feedback content during the meditation mode after a delay time based on the user attribute.”
Article provided with permission from AppleWorld.Today

