Apple wants multiple Vision Pros to be able to operate in concert for multiple users as evidenced by a newly granted Apple patent (US 11953690 B2) for a “Head-mountable Device and Connector.”
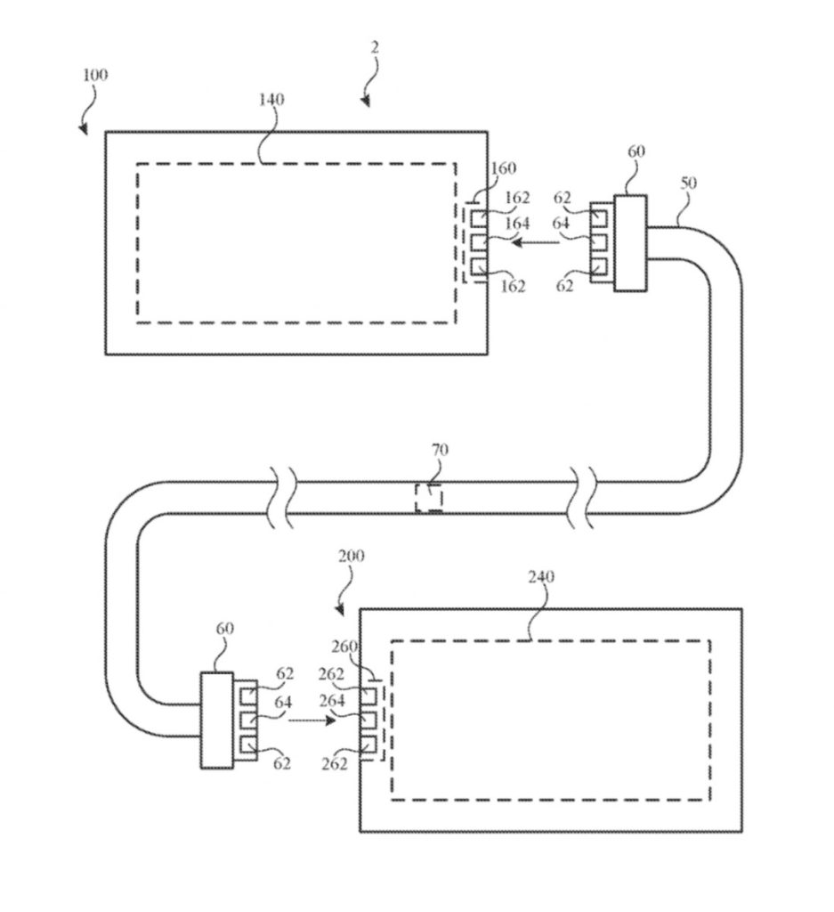
In the patent Apple describes the ability of multiple head-mounted devices (that would be the Vision Pro, of course) and/or other electronic devices can operate in concert to provide multiple users with shared experiences and content enjoyment. Such operations can be facilitated by a connection between multiple head-mounted devices and/or other electronic devices to allow different users to receive content.
Apple say that such a connection can be made possible by a connector that directly and physically connects head-mounted devices and/or other electronic devices to each other and transmits signals between them. Apple says that by providing a physical connection, the signals can be efficiently transmitted even when other types of connections (e.g., wireless) aren’t available.
About the Vision Pro
Demos of the Apple Vision Pro at Apple Stores in the U.S. can be reserved on Apple.com. To reserve a free Vision Pro demo online, go here, then follow the steps to book an appointment at your local Apple Store.
Pricing for the Vision Pro starts at US$3,499 with 256GB of storage. ZEISS Optical Inserts are available: $99 for reading lens and $149 for prescription lens.
Article provided with permission from AppleWorld.Today

