Future Apple Watches could help prevent folks from drowning. Apple has filed for a patent (number US 20240105043 A1) for a “wearable device used as a digital pool attendant.”
About the patent filing
The patent filing relates generally to pool alarm systems and methods for detecting when swimmers are in distress or drowning. Every year more than 3,500 people in the United States die from drowning. Drowning is also the fifth most common cause of accidental death in the country and most people who die by drowning are children.
The average person can hold his/her breath for about 30 seconds. For children, the length is shorter. A person who is in excellent health and has training for underwater emergencies can still only hold their breath for about 2 minutes. If a person is submerged 4-6 minutes in water without resuscitation, brain damage and eventually death by drowning will occur.
To prevent drowning accidents, drowning prevention systems have been developed that use camera surveillance systems to detect when a swimmer is in distress. For example, SwimEye uses a live video stream from underwater cameras to automatically monitor for swimmers in distress using object recognition software. When SwimEye detects a swimmer in distress on the bottom of the pool, it raises a radio alarm to pool lifeguards and a visual alarm to a monitoring and control station.
However, Apple says that such a system can be expensive as it requires the installation and maintenance of the underwater cameras and monitoring and control station, making such a solution more suitable for large public pools operated by a city or business (e.g., hotels). Also, swimmers can block the underwater cameras in highly populated public pools, and larger swimmers (e.g., adults) can obscure smaller swimmers (e.g., children), causing the object detection software to detect frequent false positives or experience missed detections, and other problems associated with object detection systems when there are many moving objects to detect and track.
Apple says that what’s needed is a more simple and cost-effective solution to drowning prevention systems that can be deployed in every type of freshwater pool, including public and private swimming pools and also natural pools (e.g., lakes, ponds, etc.) where underwater cameras would be impractical to install. The tech giant says the Apple Watch could be part of such a solution.
Summary of the patent filing
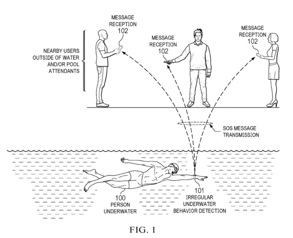
Here’s Apple’s abstract of the patent filing: “Embodiments are disclosed for a wearable device used as a digital pool attendant. In some embodiments, a method comprises: determining, with at least one processor of a wearable device, whether a user is swimming or not swimming based on sensor data; in accordance with the user not swimming, determining with the at least one processor and based on the sensor data, whether the user is showing regular or irregular behavior while swimming; and in accordance with the user showing irregular behavior, sending an alert message from the water over air to one or more other devices.”
Article provided with permission from AppleWorld.Today

