Apple may have canceled plans for an Apple Car, but it’s still being granted patents related to automobiles. The latest (number US 11932172 B1) is for “Storage for a Display Screen in a Vehicle.”
About the patent
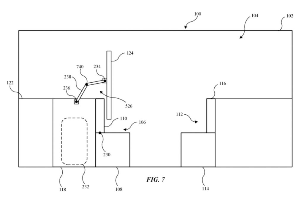
The display screen would likely be for viewing photos, videos, games, etc. One aspect of the disclosure is a vehicle including a first seat, a luggage compartment located behind the first seat, and a surface located behind the first seat and above the luggage compartment. The surface would be an opening that permits access to the luggage compartment.
The vehicle also includes a display screen and a support assembly connected to the display screen. The support assembly is configured to move the display screen to a storage position, in which the display screen is positioned adjacent to the surface and obstructs the opening, and a luggage access position, in which the display screen is spaced from the surface and does not obstruct the opening.
In other implementations of the invention, the vehicle includes a second seat, and the support assembly is configured to move the display screen to a viewing position, in which the display screen is spaced from the surface and oriented toward the second seat so that the display screen is viewable from the second seat.
The second seat could also face toward the first seat. What’s more, the display screen is located behind the first seat in the storage position, and the display screen is located between the first seat and the second seat in the viewing position.
Summary of the patent
Here’s Apple’s abstract of the patent: “A first seat, a surface located behind the first seat, a display screen, and a support assembly. The support assembly is configured to move the display screen to a storage position, in which the display screen is positioned adjacent to the surface. The support assembly includes a pivot connected to the display screen and a track configured to support the pivot. The pivot is configured to move along the track.”
Article provided with permission from AppleWorld.Today

