You may one day be able to use your iPhone or iPad to scan a room and generate a floorplan, as evidenced by a newly granted Apple patent (number ).
About the patent
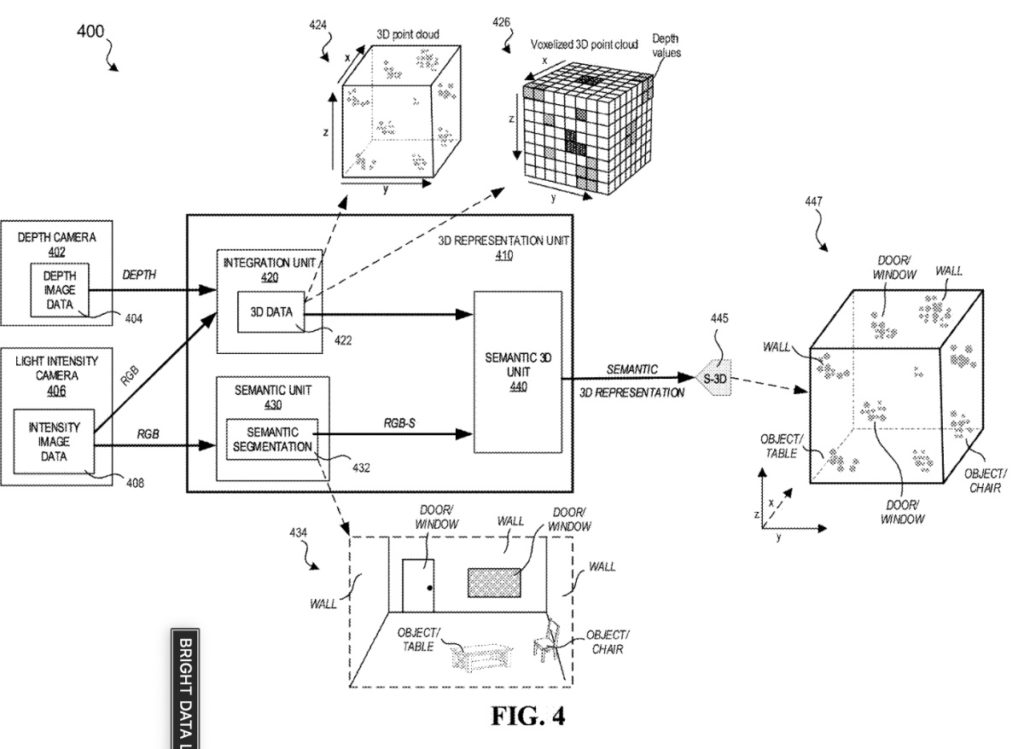
The patent generally relates to generating two-dimensional and three-dimensional geometric representations of physical environments, and in particular, to systems, methods, and devices that generate geometric representations based on information detected in physical environments.
In the patent, Apple notes that floorplans play an important role in designing, understanding, and remodeling indoor spaces. They’re generally effective in conveying geometric and semantic information of a physical environment. For instance, a user may view a floorplan to quickly identify room extents, wall structures and corners, the locations of doors and windows, and object arrangements.
Apple says that there are numerous hurdles to providing computer-based systems to automatically generate floorplans, room measurements, or object measurements based on sensor data. However, the sensor data obtained regarding a physical environment (e.g., images and depth data) may be incomplete or insufficient to provide accurate floorplans and measurements.
For example, indoor environments often contain an assortment of objects, such as lamps, desks, chairs, etc., that may hide the architectural lines of the room that might otherwise be used to detect edges of a room to build an accurate floorplan. As another example, images and depth data typically lack semantic information and floorplans and measurements generated without such data may lack accuracy.
Apple says that existing techniques don’t allow for automatic, accurate, and efficient generation of floorplans and measurements using a mobile device, for example, based on a user capturing photos or video or other sensor data while walking about in a room. What’s more, existing techniques may fail to provide sufficiently accurate and efficient floorplans and measurements in real time (e.g., immediate floorplan/measurement during scanning) environments.
Apple thinks it can do better.
Summary of the patent
Here’s Apple’s abstract of the patent: “Various implementations disclosed herein include devices, systems, and methods that generate floorplans and measurements using a three-dimensional (3D) representation of a physical environment generated based on sensor data.”
Article provided with permission from AppleWorld.Today

