Apple has been granted a patent (US 11913597 B2) for a “Product-display System” for its retail stores.
About the patent
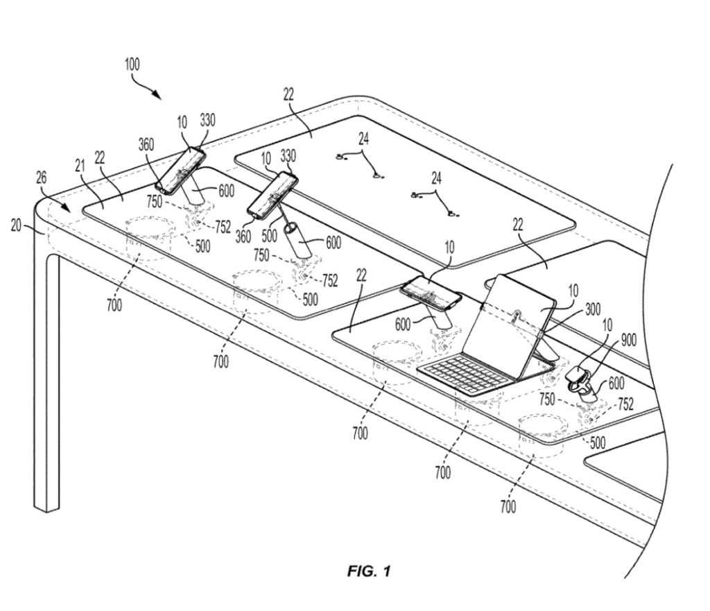
The patent relates generally to product-display systems. More particularly, the embodiments relate to product-display systems for displaying and securing retail products.
In the patent Apple says that a retailer or other person may desire to make a product available for testing) by a potential purchaser. In some cases, the retailer may further desire to limit the potential purchaser’s ability to remove the product from a display area. Apple’s patent involves a system to accommodate both scenarios.
Summary of the patent
Here’s Apple’s abstract of the patent: “A product-display system for displaying and securing a retail product. The system may include a retainer having a retainer bracket and a retainer body coupled to the retainer bracket. A retaining cable may be coupled to the retainer body at an opening in the retainer body. A fastener that may be unfastened to release the product from the retainer may only be accessed through the opening of the retainer body such that when the retaining cable is coupled to the opening, no fasteners of the retainer may be visible or accessible.
“The system may also include a display stem for holding the retainer and product. The display stem may include a recess for receiving at least a portion of the retainer body. The retaining cable may extend through the display stem and may simultaneously transmit power and data to a displayed product. The retainer may be returned to and held on top of the display stem using a retaining cable. The retainer may be oriented on top of the display stem in one or more predetermined positions through the use of magnetic forces.”
Article provided with permission from AppleWorld.Today

