You may one day be able to browse and buy stuff in a virtual Apple retail store using the Vision Pro. Apple has applied for a patent (number 20240062279) for a “Method of Displaying Products in a Virtual Environment.”
About the patent
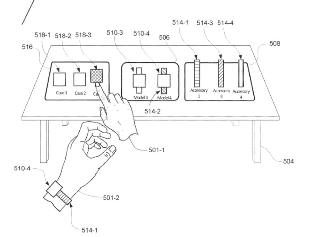
According to the patent filing, users may interact with a computer-generated environment, such as by browsing a virtual store and customizing and/or purchasing products. The invention is for the displaying of a virtual product in a three-dimensional environment. Provided would be methods of interacting with, customizing, and previewing virtual products. Apple says that such interactions would provide a “more efficient and intuitive user experience.”
Summary of the patent
Here’s Apple’s abstract of the patent: “Methods for displaying a virtual shopping experiences provide for an efficient and intuitive user experience. In some embodiments, a computer-generated environment can include a virtual product display that includes one or more representations of products. In some embodiments, the computer-generated environment can include stations that provide additional information associated with a respective product.
“In some embodiments, a user is able to customize a respective product, for example, by selecting an accessory and dragging the accessory to a representation of the respective product. In some embodiments, a user is able to preview a product by placing a representation of the product on a representation of a portion of the user’s body.”
About the Vision Pro
Demos of the Apple Vision Pro at Apple Stores in the U.S. can be reserved on Apple.com. To reserve a free Vision Pro demo online, go here, then follow the steps to book an appointment at your local Apple Store.
Pricing for the Vision Pro starts at US$3,499 with 256GB of storage. ZEISS Optical Inserts are available: $99 for reading lens and $149 for prescription lens.
Article provided with permission from AppleWorld.Today

