Let the Apple Car rumors roll on. Apple has been granted a patent (number US 11904789 B1) for “Movable Structures” in a vehicle.
About the patent
The patent relates generally to systems that include structures that are configured to move in response to an external event. In the patent Apple says that known systems control passenger motion and absorb energy during an event such as a sudden abnormal change in acceleration, speed, and/or direction.
Some of these systems are passive, such as safety belts, mechanical components that crush or deform to absorb energy, and spring systems that allow motion of certain components in response to applied forces. Some of these systems are active, such as air bags that deploy to react to passenger motion in a controlled manner while absorbing energy.
All these are fine, but Apple wants its vehicle to be even safer. An Apple Car could sense sudden changes in motion (such as sudden stops in a crash) and move driver and passenger seats, accordingly.
Summary of the patent
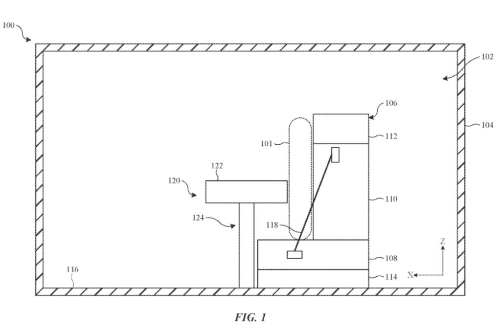
Here’s Apple’s abstract of the patent: “A body structure defines a passenger cabin. An interior portion is located in the passenger cabin, and a support portion that includes a surface and an adjustable support assembly is located in the passenger cabin. The surface is located adjacent to the interior portion, the adjustable support assembly includes actuators, and the adjustable support assembly is configured to move the surface with respect to the interior portion.
“Sensors are configured to generate sensor outputs, and a controller detects an event based on the sensor outputs. In response to the detection of the event, the controller outputs a control signal that controls the adjustable support assembly so that the adjustable support assembly moves at least part of the surface away from the interior portion.”
When might we see an Apple Car?
Don’t expect an Apple-branded vehicle anytime soon — especially a self-driving one. Apple will purportedly roll out a “scaled down” Apple Car in 2028, according to a January 23 Bloomberg article by Mark Gurman.
“Apple Inc. is reaching a make-or-break point in its decade-old effort to build a car, has pivoted to a less ambitious design with the intent of finally bringing an electric vehicle to market,” he writes. “After previously envisioning a truly driverless car, the company is now working on an EV with more limited features, according to people with knowledge of the project.”
Apple had originally hoped to debut a long-in-the-works Apple Car in 2026, but plans and personnel on the project have changed multiple times. If the company can’t debut an electric vehicle with the feature set it wants, executives may “seriously reconsider the project’s existence,” Gurman writes.
The Apple Car project — dubbed (at least at onetime) Project: Titan — has had a tumultuous history. For example, in July 2021 it was announced that Apple Vice President of Technology Kevin Lynch would take a role in leading the development of the Apple Car. This happened after Doug Field, who had headed the project, left Apple for Ford.
Lynch joined Apple in 2013 after working as the chief technology officer of Adobe Systems. He has been responsible for, among other things, developing the Apple Watch software.
In 2016, Apple convinced Bob Mansfield, former Senior Vice President of Technologies, to come out of retirement to run Project Titan. However, he retired again in 2020 with (at that point) John Giannandrea, Apple’s senior vice president of machine learning and AI strategy, assuming command of Project Titan.
Article provided with permission from AppleWorld.Today

