Apple has filed for a patent (number US 20240020905 A1) for “Granulal Motion Control for a Virtual Agent.” It involves the ability to create virtual reality and augmented reality for viewing on the Apple Vision Pro, iPhone, and iPad.
About the patent filing
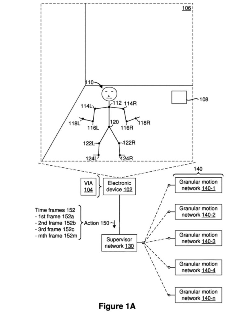
In the patent filing Apple notes that some devices are capable of generating and presenting graphical environments that include many objects. (I assume this would be a Mac.) These objects may mimic real world objects and may be presented on mobile devices. Apple’s patent filing involves the ability to create objects that move around in such an environment.
Summary of the patent filing
Here’s Apple’s abstract of the patent filing: “Various implementations disclosed herein include devices, systems, and methods for granular motion control for a virtual agent. In various implementations, a device includes a non-transitory memory and one or more processors coupled with the non-transitory memory. In some implementations, a method includes obtaining an action for a virtual agent.
“In some implementations, the action is associated with a plurality of time frames. In some implementations, the method includes, for a first time frame of the plurality of time frames, determining respective confidence scores for a plurality of granular motions that advance the virtual agent towards completion of the action. In some implementations, the method includes selecting a subset of the plurality of granular motions based on the respective confidence scores.”
Article provided with permission from AppleWorld.Today

