Currently, the Apple Watch can respond to certain movements of a user’s arm. However, a newly granted patent (US 11861077 B2) shows that Apple wants to kick this functionality up a notch or two.
About the patent
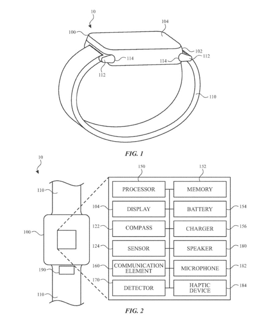
The patent, dubbed “Interacting With An Electronic Device Through Physical Movement,” relates generally to computer user interfaces, and more specifically to techniques for interacting with user interfaces.
In the patent Apple notes that small electronic devices such as smartwatches that are configured to be worn by a user can allow a user to view and respond to various types of alerts, such as text messages, emails, voicemails, and calendar alerts. Apple says that user interfaces that enable a reduced-size electronic device to be efficiently used for viewing and responding to alerts are desirable.
However, the tech giant notes that some techniques for interacting with electronic devices, “are generally cumbersome and inefficient.” For example, some existing techniques use a complex and time-consuming user interface, which can include multiple button presses or finger touches.
In the case of devices worn on a user’s arm (e.g., a smart watch) operation of the device via a touchscreen interface effectively requires the use of both of the users hands, restricting their use for other purposes. What’s more, Apple says that existing techniques require more time than necessary, wasting user time and device energy.
Apple’s patent involves techniques that provide faster, more efficient methods and interfaces for interacting with its smartwatch without touching display screens or other physical input mechanisms. Apple Watches could be equipped with a variety of tilt sensors that affect what a user sees on the smartwatch interface.
Summary of the patent
Here’s Apple’s abstract of the patent: “The present disclosure generally relates to interacting with an electronic device without touching a display screen or other physical input mechanisms. In some examples, the electronic device performs an operation in response to a positioning of a user’s hand and/or an orientation of the electronic device.”
Article provided with permission from AppleWorld.Today

