Apple has been granted a patent (US 11831368 B2) that involves a relay dock and base station for multiple users of the upcoming Vision Pro. It’s dubbed “Relay Dock And Base Station With Position Information Based Directional Wave Forming.”
The first generation of the US$3,499 (and higher) Spatial Computer isn’t due until, in Apple’s words “early) 2024 (which I suspect means sometime in March). However, it will apparently only be available in limited quantities at first.
About the patent
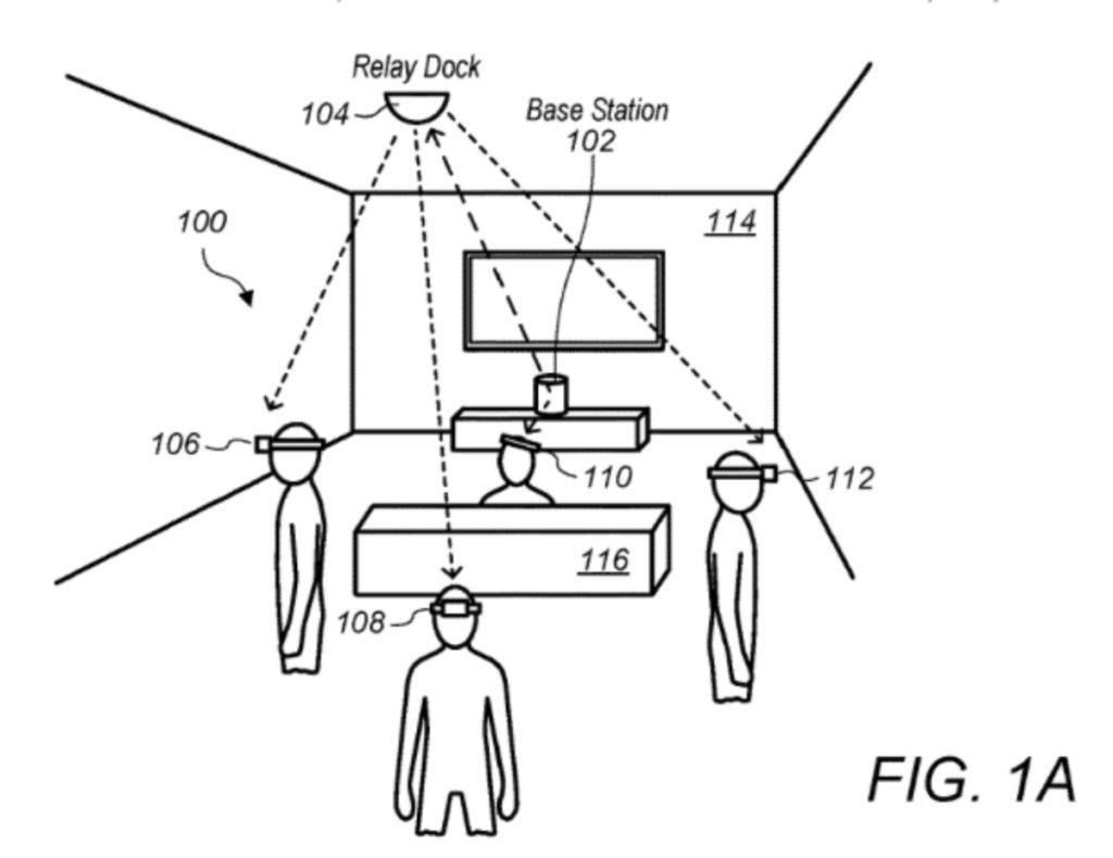
The patent involves equipping Vision Pros with an antenna array that can transmit and received directional wave signals that would communication with a relay dock and base station. The array and built-in sensors would keep track of the position and movements of more than one person wearing a Vision Pro.
This set-up would allow the users to interact with each other in virtual reality and augmented reality environments, which would be useful for playing games. It would also prevent ‘em from running into each other.
Summary of the patent
Here’s Apple’s abstract of the patent: “A wireless communication system comprises a base station and one or more relay docks and transmits directional wave signals between components using high frequency waves, such as millimeter waves. A beam forming decision engine utilizes position information collected from one or more position or motion sensors of a user device to determine a direction in which to form a directional wave signal being transmitted between components of the wireless communication system.”
Article provided with permission from AppleWorld.Today

