Apple has been granted a patent (number US 11822858 B2) for a “Multi-user TV User Interface” that shows the company wants to make it easier for multiple users to use its Apple TV app.
About the patent
For many years, broadcast television was the sole provider of video content to viewer’s homes across the globe. As time has passed, and particularly with the advent of the Internet, numerous other sources of video content have arisen. In addition to broadcast television, cable television and satellite based television providers have begun providing access to video on demand and other audio and video content.
In addition, special purpose set-top boxes, such as the Apple TV set-top box, have provided a gateway for viewer’s to access other sources of video content not provided by their television service provider. With such boxes, viewers were able to connect to these other content providers in order to obtain desired video content.
At present, there are lots of video providers in the marketplace. In addition, music and other audio content is available through various communication channels. Many are subscription based services, and some provide free content.
Apple says that while the explosion of video content providers in the marketplace may seem a boon for viewers, the large number of choices and providers complicates the viewing experience. And methods of accommodating multiple users on a device are complicated. Apple wants to provide “improved media content delivery systems, methods and mechanisms are desired.”
Summary of the patent
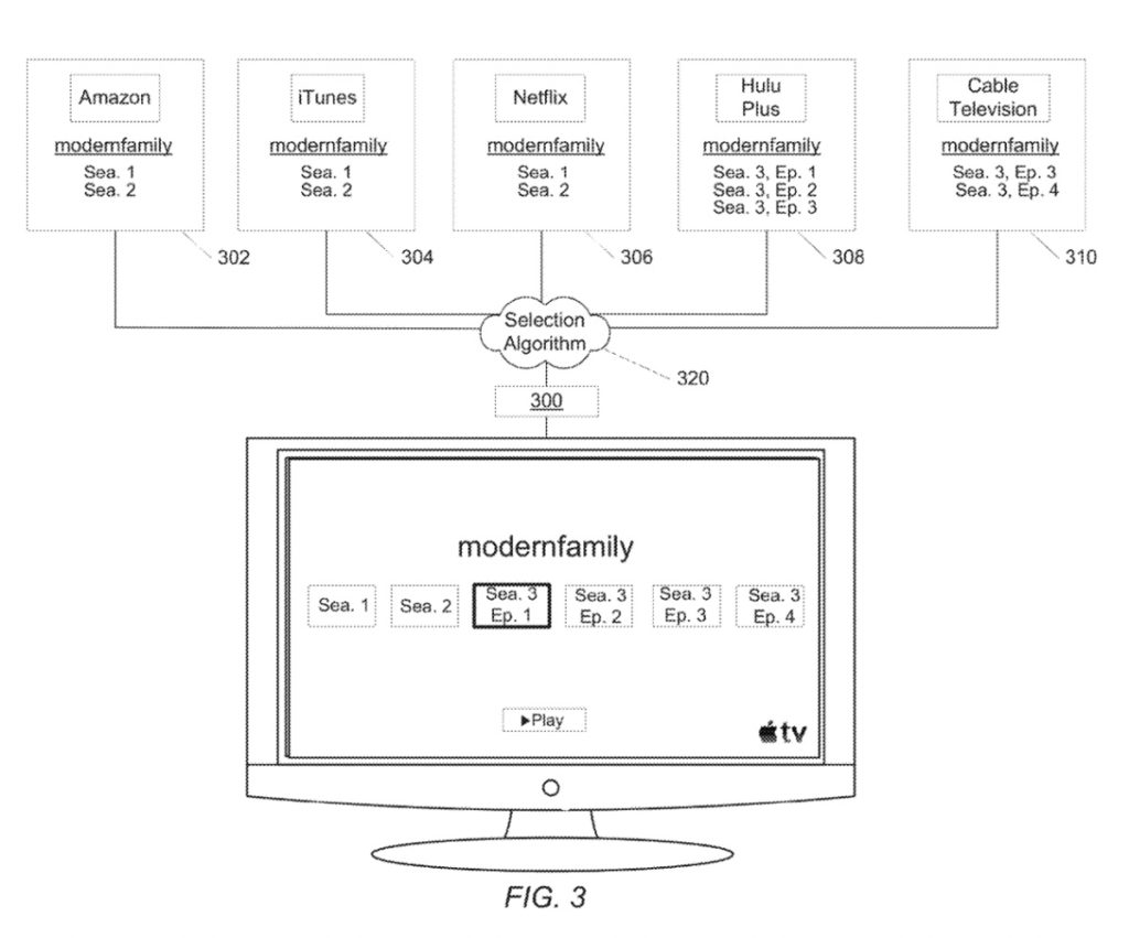
Here’s Apple’s abstract of the patent: “A media content provider includes storage for storing and serving video content to subscribers. The media content provider records and or otherwise stores video content from around the world. The system includes display devices configured to identify and tailor content to multiple individual users. Each user may have individual settings which provide for a customized viewing environment and experience.
“The system is configured to identify users of the system in order to tailor the content as appropriate. In addition, identification of users allows for the identification of the subscription content that corresponds to the user. Based upon identification of a user and corresponding subscription, the user’s subscription content may be streamed to any location. In this manner, the users subscribed content may follow the user from home to a friend’s house, or elsewhere.”
Article provided with permission from AppleWorld.Today

