Apple has applied for a patent (number US 20230360507 A1) for “In-Home Event Intercom and Notifications.” It’s a heath feature that involves an Apple device detecting when a person has an issue and notifies a second person (via his/her Apple device) to provided assistant.
About the patent filing
In the patent filing, Apple notes that modern electronic devices are seamlessly integrated into our surroundings, such as in a home environment or an office environment. These electronic devices are becoming increasingly popular for users accessing a range of healthcare-based applications. Users can connect to the Internet via an electronic device in their home or office and access healthcare-based applications via their mobile phones, tablet computers, home entertainment systems, and the like.
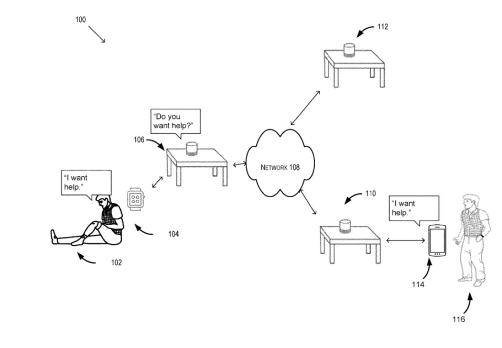
Per Apple’s patent filing, a computing device (Mac, iPhone, iPad, Apple Watch, etc.) receives a health event message from an user device via a short-range transmission protocol. The message includes a description of a health event experienced by a first person in a home environment. The first computing device can be in operable communication with a second computing device (another Mac, iPhone, iPad, Apple Watch, or HomePod) via a smart home platform that manages the home environment.
The first computing device transmits the message to the second computing device via an Internet-based transmission protocol. The second computing device can detect a second person in the home environment that can render assistance to the first person. The first device receives, via the Internet-based transmission protocol, a response from the second device that the second computing device has detected the second person and has transmitted the message to a second user device associated with the second person.
Summary of the patent filing
Here’s Apple’s abstract of the patent filing; “Techniques are disclosed for in-home health intercom and notification. In one example, a first device receives a message comprising a description of an event of a first person in an environment from a first user device using a first transmission protocol. The first device detects that the message is an event message.
“The first device transmits the event message to the second computing device in the environment using a second transmission protocol, where the first device and the second device are in operable communication using a local area network. The first device receives, using the second transmission protocol, a response from the second device that the second computing device has transmitted the event message to a second user device.”
Article provided with permission from AppleWorld.Today

