Apple has been granted a patent (number US 11796312 B2) for “Body Volume/shape Determination Using Handheld Devices.”
About the patent
In the patent Apple says that acquiring the volume of a person typically requires a dedicated optical system to map out the person’s body. The most accurate hardware used for determining a person’s volume is large, complex and/or cumbersome, making it difficult to integrate into small consumer electronic devices that are convenient for users.
However, this results in a tradeoff between the ease of use and measurement capabilities. Apple says that, for health and fitness reasons, there’s a need for a new method to perform on-demand and continuous body-volume measurement using a handheld device such as an Apple Watch, iPhone, or even AirPods.
Summary of the patent
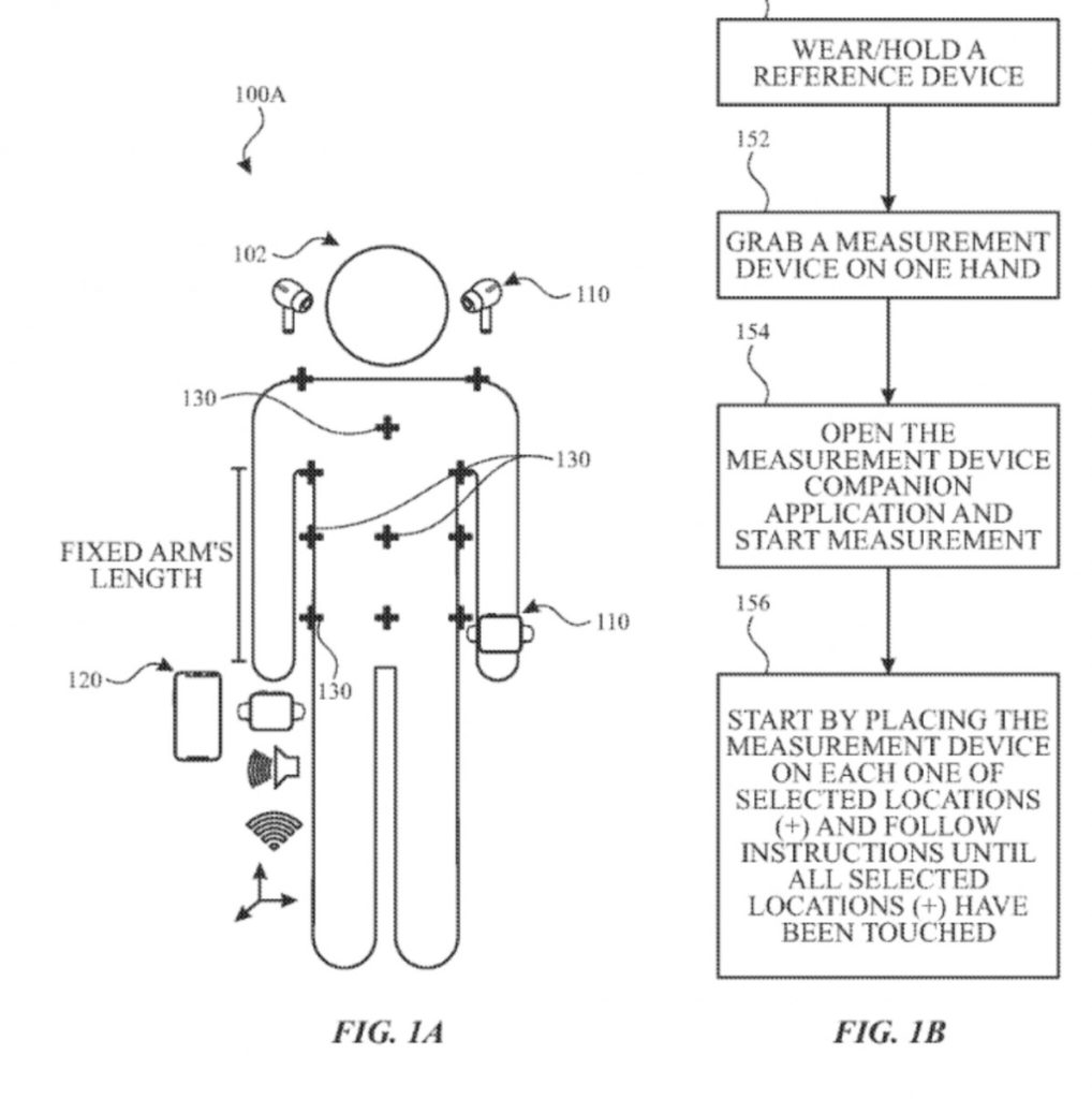
Here’s Apple’s abstract of the patent: “Aspects of the subject technology relate to a system including a reference device, a measurement device and a processor. The measurement device provides a three-dimensional (3-D) point map corresponding to first positions of a plurality of selected points on a torso of a user. The processor determines a shape of the torso based on the 3-D point map. The measurement device is sequentially placed on the plurality of selected points, and the 3-D point map represents the first positions of the plurality of selected points relative to a second position associated with a location in 3-D space of the reference device.”
Article provided with permission from AppleWorld.Today

