Let the Apple Car rumors roll on. Apple has filed for a patent (number US 20230331164 A1) for an “accessory carrier” for a vehicle.
About the patent filing
Obviously, vehicles are often used to carry cargo. Various types of cargo carrying arrangements have been used to carry specific types of cargo items or to increase cargo capacity.
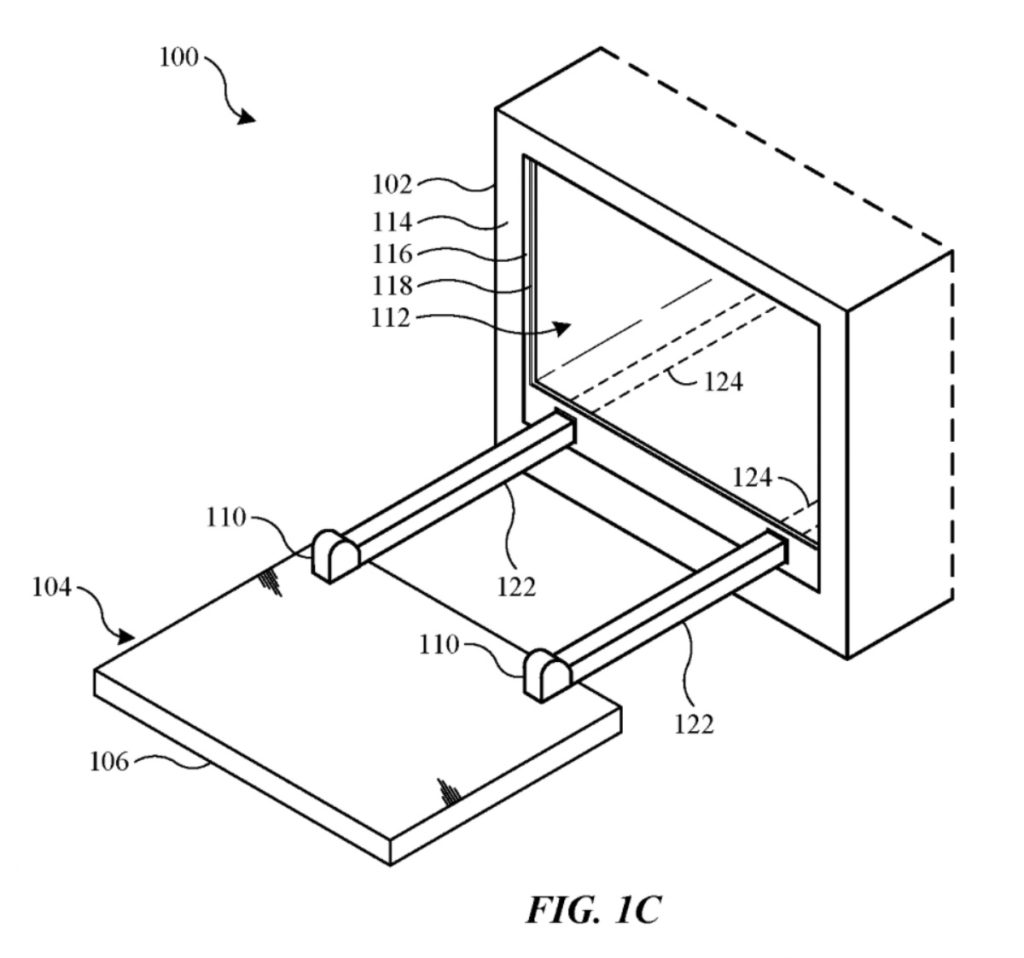
Apple’s idea for the Apple Car is a vehicle body that defines an opening, an extendable support that is movable between a retracted position and an extended position, and a closure connected to the extendable support and movable between a closed position and a use position.
The closure is located in the opening of the vehicle body when the closure is in the closed position, and the extendable support is in the retracted position when the closure is in the closed position. The closure is spaced from the opening of the vehicle body when the closure is in the use position, and the extendable support is in the extended position when the closure is in the use position. An accessory support area is defined between the closure and the vehicle body when the closure is in the use position, and the accessory support area is configured to allow connection of an accessory to the vehicle.
What’s more, the Apple Car may include a seal that is connected to the vehicle body and extends around the opening, wherein the seal is engaged with the closure when the closure is in the closed position, and the seal is engaged with the accessory when the closure is in the use position and the accessory is connected to the vehicle. The vehicle may include releasable couplers that are configured to connect the accessory to at least one of the extendable support, the closure, or the vehicle body.
What’s more, the Apple Car may include a sensor that is located on the closure and is configured to move with the closure. The sensor may be a camera.
Summary of the patent filing
Here’s Apple’s abstract of the patent filing: “A body defines an opening, an extendable support is movable between a retracted position and an extended position, and a is closure connected to the extendable support and movable between a closed position and a use position. An accessory support area is defined between the closure and the body when the closure is in the use position, and the accessory support area is configured to allow connection of an accessory.”
When might we see an Apple Car?
Analyst Ming-Chi Kuo says that Apple’s work on the Apple Car has “lost all visibility at the current time. He adds that if Apple does not adopt some kind of acquisition strategy to make inroads in the automotive market, it is unlikely that the Apple Car will be able to go into mass production “within the next years.”
On. Nov. 18, 2021, Bloomberg reported that Apple was accelerating development on its “Apple Car.” The article said that the electric vehicle will be self-driving and could roll out in 2025.
What’s more, in a note to clients — as noted by AppleInsider — investment bank Wedbush said Apple is likely to announce a strategic electric vehicle partnership in 2022 to lay the groundwork for an “Apple Car” release in 2025.
If Kuo is correct — and I suspect he is — those predictions are way too optimistic.
Article provided with permission from AppleWorld.Today

