Apple wants to make it easy to find that iPhone or iPad you misplaced in your car. The company has filed for a patent (number US 20230269565 A1) for “systems and methods for locating mobile devices within a vehicle.”
Of course, passengers in vehicles may carry mobile devices into the car. Once inside, a passenger may place the mobile device somewhere only to have it move, fall onto the floor, or slide into a location on the vehicle thats difficult to see or access. As a result, mobile devices are often lost inside vehicles.
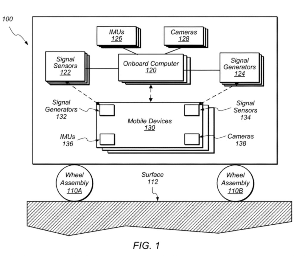
Apple says that current methods for locating a mobile device in a vehicle “require some degree of manual intervention, which can be tedious and cumbersome. Apple’s solution is a method that includes receiving, by sensors inside an enclosure of a vehicle, signals generated by signal generators in the enclosure of the vehicle. One of the sensors or signal generators may be part of a mobile device inside the enclosure. The method also includes determining a location and orientation of the mobile device from the signals.
The method further includes determining, based on the location and orientation of the mobile device, an object in the enclosure that the mobile device is pointing to. The mobile device further includes transmitting a message to the iPhone or iPad in response to determining that the mobile device is pointing to the object, so as to cause the mobile device to display a user interface to allow the mobile device to control the object.
Article provided with permission from AppleWorld.Today

