A newly granted patent (number US 11726560 B2) hints that the upcoming Apple Vision Pro and Macs could use “eye tracking via eye odometers.”
About the patent
An eye tracker is a device for estimating eye positions and eye movement. Eye tracking systems have been used in research on the visual system, in psychology, psycholinguistics, marketing, and as input devices for human-computer interaction. Apple notes that, in the latter application, typically the intersection of a person’s point of gaze with a desktop monitor is considered.
Apple’s patent involves eye tracking being used in simulated environments of virtual reality and/or the mixed environments of mixed reality. Interacting via eye tracking cold be done in training environments, gaming, remotely controlling drones or other mechanical systems, viewing digital media content, interacting with the Internet, or the like.
Summary of the patent
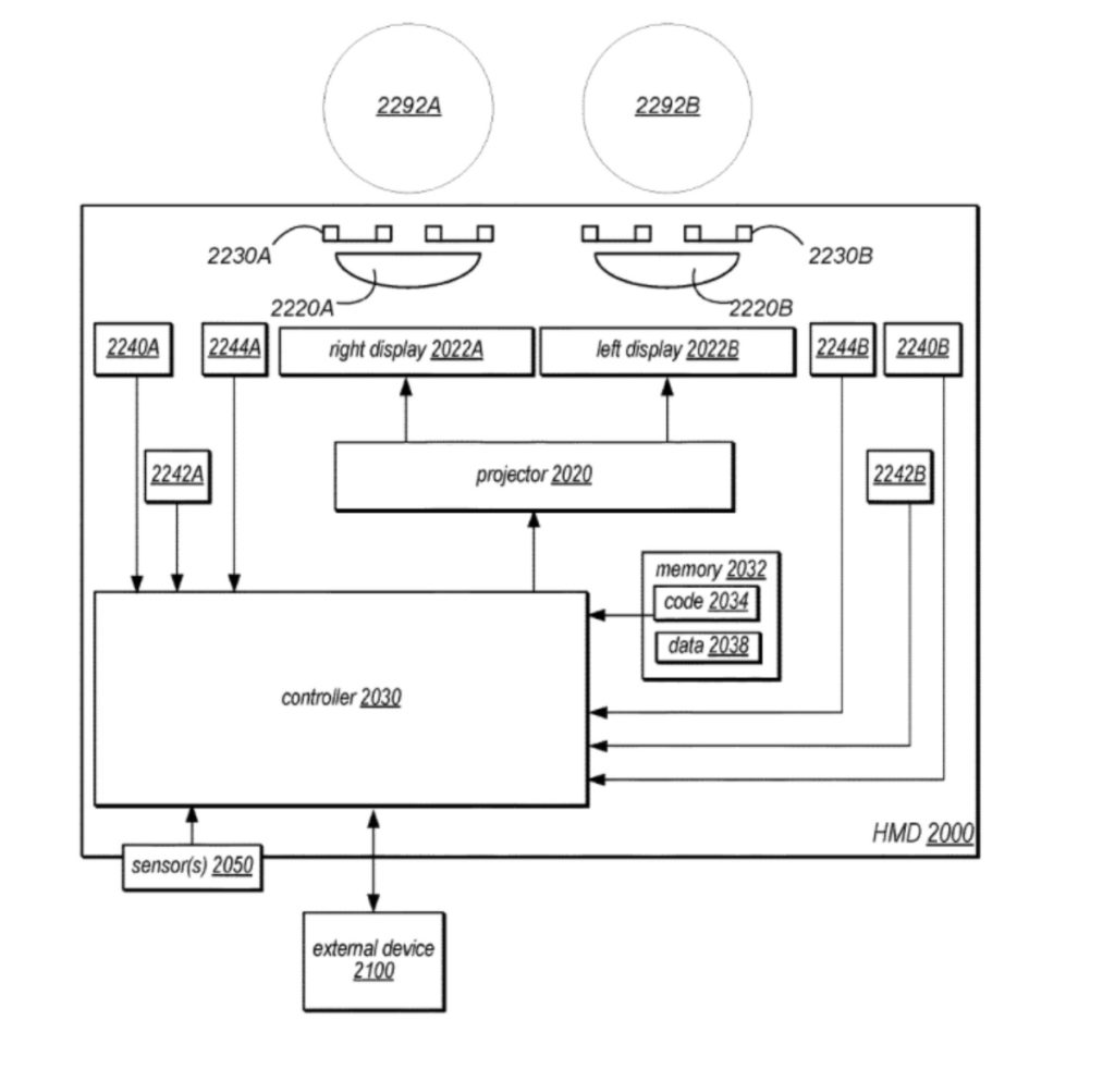
Here’s Apple’s abstract of the patent:”Low-power eye tracking for detecting position and movements of a user’s eyes in a head-mounted device (HMD). An eye tracking system for an HMD may include eye tracking cameras and eye odometers that may reduce power consumption of the system. The eye odometers may be used as a low-power component to track relative movement of the user’s eyes with respect to the HMD between frames captured by the eye tracking cameras, which may allow the frame rate of the eye tracking cameras to be reduced.”
If you’d like to help support AWT (and help us reach our goal of eliminating ads), consider becoming a patron. We offer at least three patron-exclusive posts each week. You can start at only $2 per month (though $5/month gets you the exclusives).
Article provided with permission from AppleWorld.Today

