Apple has been granted a patent (number US 11726824 B2) for a “system with multiple electronic devices.” It involves methods for multiple iPads and iPones to work together in a joint operating mode.
About the patent
In the patent Apple notes that electronic devices such as iPhones are often used in isolation. For example, a user may present a video or book on the display of a single electronic device. However, using devices in isolation can be “unsatisfactory,” Apple says For example, devices that operate independently are not able to help each other when presenting a video or book to a user.
Per Apple’s patents, multiple electronic devices may be used together in a system. The electronic devices may use sensor measurements and other information to detect when an edge of a first device is adjacent to an edge of a second electronic device. In response to detection of adjacency between the edges of the first and second devices, the devices may transition from an independent operating mode in which each device operates separately to a joint operating mode in which resources of the devices are shared.
In the joint operating mode, images may extend across displays in the devices, speakers in respective devices may be used to play different channels of an audio track, cameras and sensors in different devices may be used in cooperation with each other, and other resources may be shared.
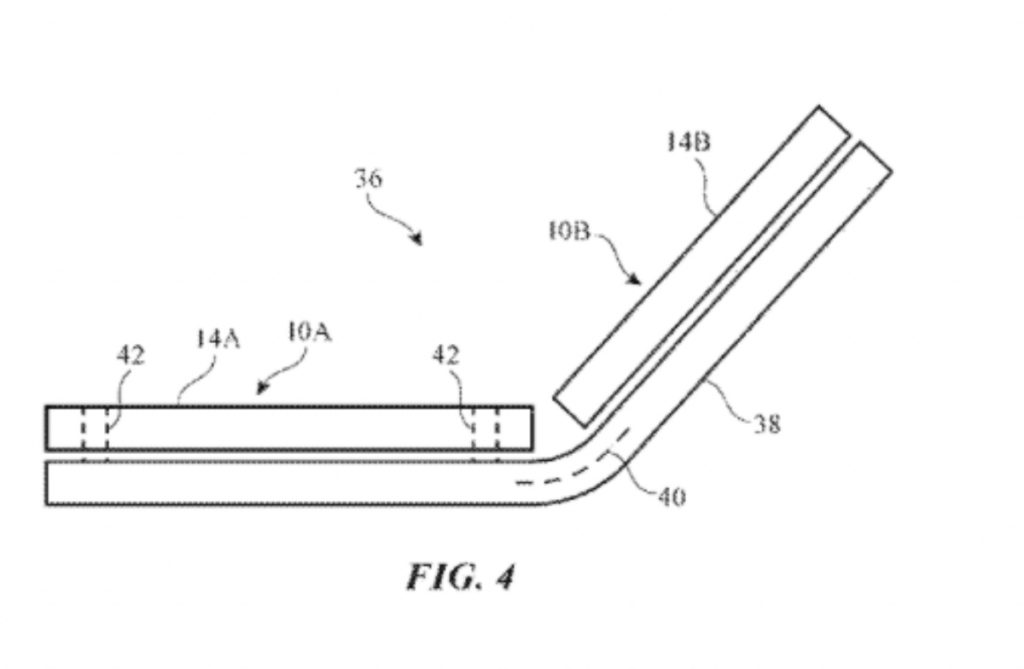
Magnetic components may hold devices together in a variety of orientations. The magnetic components may operate in cooperation with beveled housing edges and other structures to help hold devices in planar configurations in which the devices lie in a common plane and non-planar configurations in which the devices are oriented at a non-zero angle with respect to each other.
Summary of the patent
Here’s Apple’s abstract of the patent: “Multiple electronic devices may be used together in a system. The electronic devices may use sensor measurements and other information to detect when an edge of a first electronic device is adjacent to an edge of a second electronic device. In response to detection of adjacency between the edges of the first and second devices, the devices may transition from an independent operating mode in which each device operates separately to a joint operating mode in which resources of the devices are shared.
“In the joint operating mode, images may extend across displays in the devices, speakers in the devices may be used to play different channels of an audio track, cameras and other sensors may be used in cooperation with each other, and other resources may be shared. Magnetic components may hold devices together in a variety of orientations.”
If you’d like to help support AWT (and help us reach our goal of eliminating ads), consider becoming a patron. We offer at least three patron-exclusive posts each week. You can start at only $2 per month (though $5/month gets you the exclusives).
Article provided with permission from AppleWorld.Today

