Apple has been granted a patent (US 11716560 B1) for a “Wireless Headphone Accessory” that hints at chargers for its AirPods and AirPods Pro that can be worn around the neck or wrist — or on a keychain.
About the patent
In the patent Apple says that while some portable electronic devices such as iPhones can be carried in a pocket or a purse, some activities don’t make this easy to do. For example, some portable electronic devices are commonly used to listen to music while a user of the portable electronic device is jogging or otherwise exercising.
What’s more, Apple says that accessories for portable electronic devices are often “bulky and may be uncomfortable, or may not provide certain desired features, such as charging capabilities.” The company says that what is needed are improvements and advances to accessories for electronic devices that can reliably retain the electronic device in a convenient form factor while providing other desired features.
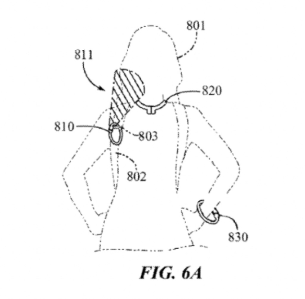
One of those desired features is charging. Apple’s patent involves flexible chargers that could be worn around the neck or around the wrist.
Summary of the patent
Here’s Apple’s abstract of the patent: “An accessory for wireless earbuds can include a first receiving portion defining a first cavity sized to receive and retain a first earbud and a second receiving portion defining a second cavity sized to receive and retain a second earbud. Each receiving portion can include a charging component to electrically couple with the respective earbud. The accessory can include a flexible portion connected to the first receiving portion and the second receiving portion, the flexible portion at least partially defining an internal volume, and a battery disposed in the internal volume and electrically coupled with the charging components.”
If you’d like to help support AWT (and help us reach our goal of eliminating ads), consider becoming a patron. We offer at least three patron-exclusive posts each week. You can start at only $2 per month (though $5/month gets you the exclusives).
Article provided with permission from AppleWorld.Today

