Apple has been granted a patent (number 11494160) for “methods and systems for manipulating audio properties of objects.” It involves the rumored “Apple Glasses,” an augmented reality/virtual reality device.
About the patent
The patent generally relates to controlling audio properties of objects, such as the volume or directivity of a virtual object in an extended reality (XR) environment. In various implementations, XR environments include objects that emit sound.
In physical environments, various objects emit sounds directionally, such that the volume of the sound depends on the orientation of the listener with respect to the object. A physical environment refers to a physical place that people can sense and/or interact with without aid of electronic devices. The physical environment may include physical features such as a physical surface or a physical object.
For example, the physical environment corresponds to a physical park that includes physical trees, physical buildings, and physical people. People can directly sense and/or interact with the physical environment such as through sight, touch, hearing, taste, and smell.
In contrast, an extended reality (XR) environment refers to a wholly or partially simulated environment that people sense and/or interact with via an electronic device. For example, the XR environment may include augmented reality (AR) content, mixed reality (MR) content, virtual reality (VR) content, and/or the like.
With an XR system, a subset of a person’s physical motions, or representations thereof, are tracked, and, in response, one or more characteristics of one or more virtual objects simulated in the XR environment are adjusted in a manner that comports with at least one law of physics. As an example, the XR system may detect movement of the electronic device presenting the XR environment (such as Apple Glasses) and, in response, adjust graphical content and an acoustic field presented by the electronic device to the person in a manner similar to how such views and sounds would change in a physical environment.
Summary of the patent
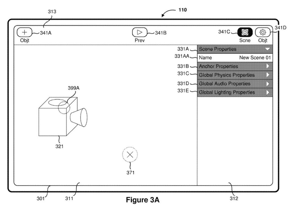
Here’s Apple’s abstract of the patent: “In one implementation, a method of changing an audio property of an object is performed at a device including one or more processors coupled to non-transitory memory. The method includes displaying, using a display, a representation of a scene including a representation of an object associated with an audio property. The method includes displaying, using the display, in association with the representation of the object, a manipulator indicating a value of the audio property.
“The method includes receiving, using one or more input devices, a user input interacting with the manipulator. The method includes, in response to receiving the user input, changing the value of the audio property based on the user input and displaying, using the display, the manipulator indicating the changed value of the audio property.”
About Apple Glasses
When it comes to Apple Glasses, the rumors are abundant. Such a device will arrive in 2023. Or 2024. Or 2025, Or 2026. It will be a head-mounted display. Or may have a design like “normal” glasses. Or it may be eventually be available in both. The Apple Glasses may or may not have to be tethered to an iPhone to work. Other rumors say that Apple Glasses could have a custom-build Apple chip and a dedicated operating system dubbed “rOS” for “reality operating system.”
Article provided with permission from AppleWorld.Today

